Curiosii for ever!: Car repair manuals for everyone.

Acceleration/Deceleration Sensor: Service and Repair




Vehicle Yaw Sensor with Vehicle Lateral Accelerometer Replacement

Removal Procedure

1. Turn OFF the ignition.
2. Remove the front floor center console, if equipped. Refer to Front Floor Console Replacement (Service and Repair).
3. Remove the front center seat, if equipped. Refer to Front Center Seat Replacement (Front Center Seat Replacement).




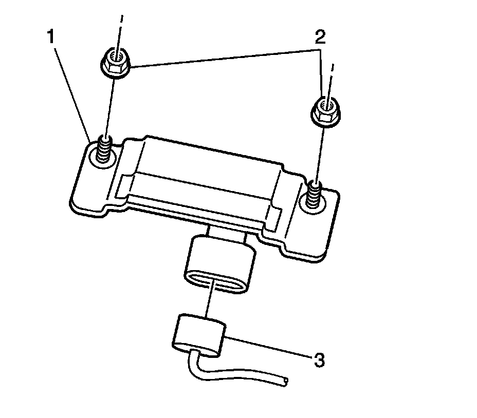
4. Remove the 2 yaw rate sensor/lateral accelerometer mounting nuts (2).




5. Disconnect the yaw rate sensor/lateral accelerometer electrical connector (2) from the yaw rate sensor/lateral accelerometer.
6. Remove the yaw rate sensor/lateral accelerometer (1).

Installation Procedure




1. Install the yaw rate sensor/lateral accelerometer (1).

Caution: Refer to Fastener Caution (Fastener Caution).

2. Install the 2 yaw rate sensor/lateral accelerometer nuts (2).

Tighten the nuts to 25 Nm (18 lb ft).




3. Connect the yaw rate sensor/lateral accelerometer electrical connector (2) to the yaw rate sensor/lateral accelerometer (1).
4. Install a scan tool.
5. Install the front center seat, if removed. Refer to Front Center Seat Replacement (Front Center Seat Replacement).
6. Install the front floor center console, if removed. Refer to Front Floor Console Replacement (Service and Repair).
7. Perform the Diagnostic System Check - Vehicle (Initial Inspection and Diagnostic Overview).