Curiosii for ever!: Car repair manuals for everyone.

Inflatable Restraint Sensing and Diagnostic Module Replacement (AG1/AG2)



Inflatable Restraint Sensing and Diagnostic Module Replacement (AG1/AG2)

Removal Procedure

Caution: Do not strike or jolt the inflatable restraint sensing and diagnostic module (SDM). Before applying power to the SDM, make sure that it is securely fastened with the arrow facing toward the front of the vehicle. Failure to observe the correct installation procedure could cause SIR deployment, personal injury, or unnecessary SIR system repairs.

1. Disable the SIR system. Refer to SIR Disabling and Enabling (Service and Repair).




2. Move both driver and passenger seat forward and/or to the rear in order to gain access to console fasteners.
3. Remove the console. Refer to Console Replacement (Service and Repair).
When the console is removed the carpet will be pre-slit in order to provide access to the inflatable restraint sensing and diagnostic module (SDM).




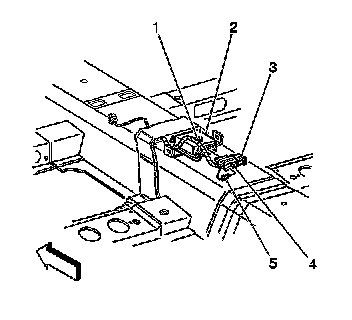
4. Remove the connector position assurance (CPA) (1) from the inflatable restraint SDM wiring harness connector (2).
5. Push down flex lock button (3) and then move sliding connector locking cover (4) to the open position.




6. Remove push-on clip (1) securing SDM wiring harness to console stud.
7. Disconnect the SDM wiring harness connector (3) from the SDM (2).




8. Remove the SDM mounting fasteners (1).
9. Remove the SDM (2) from the console floor (3).


Installation Procedure

1. Remove any dirt, grease, or other impurities from the mounting surface.




2. Install the SDM (2) horizontally to console floor (3).
3. Point the arrow on the SDM toward the front of the vehicle.

Notice: Refer to Fastener Notice (Fastener Notice).

4. Install the SDM mounting fasteners (1).

Tighten the fasteners to 9 N.m (80 lb in).




5. Connect the SDM wiring harness connector (3) to the SDM (2).
6. Install the push-on clip (1) securing the SDM wiring harness to the console stud.




7. Push down flex lock button (3) and then move sliding connector locking cover (4) to the close position.
8. Install the CPA (1) to the inflatable restraint SDM wiring harness connector (2).




9. Install the carpet pre-slit to the close position covering the inflatable restraint SDM.
10. Install the console. Refer to Console Replacement (Service and Repair).
11. Position the driver and passenger seats to the original positions.
12. Enable the SIR system. Refer to SIR Disabling and Enabling (Service and Repair).

Important: The AIR BAG indicator may remain ON after the SDM has been replaced. DTC B1001 may set requiring the SDM part number to be set in multiple modules. If the indicator remains ON after enabling the SIR system, perform the diagnostic system check and follow the steps thoroughly to ensure that the SDM is set properly.


13. Program the new SDM into the dash integration module (DIM). Refer to Body Control Module Programming and Setup (Programming and Relearning).
14. Refer to Control Module References (Programming and Relearning) for programming and setup information.