Curiosii for ever!
: Car repair manuals for everyone.
Home
>>
Buick
>>
2006
>>
Lucerne V8-4.6L VIN Y
>>
Repair and Diagnosis
>>
Diagrams
>>
Connector Views
>>
Suspension Control Module
>>
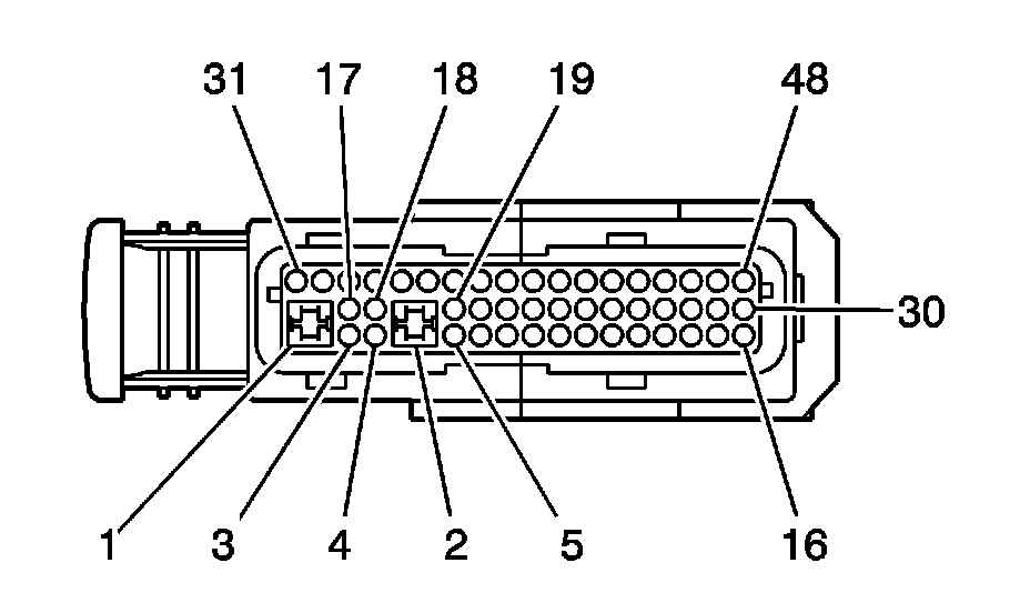
Electronic Suspension Control (ESC) Module (F55)
Electronic Suspension Control (ESC) Module (F55)
Electronic Suspension Control (ESC) Module (F55)
Electronic Suspension Control (ESC) Module (F55):