Curiosii for ever!: Car repair manuals for everyone.

Door Control Module Diagrams



Door Control Module Diagram 1:




Door Control Module Diagram 2:




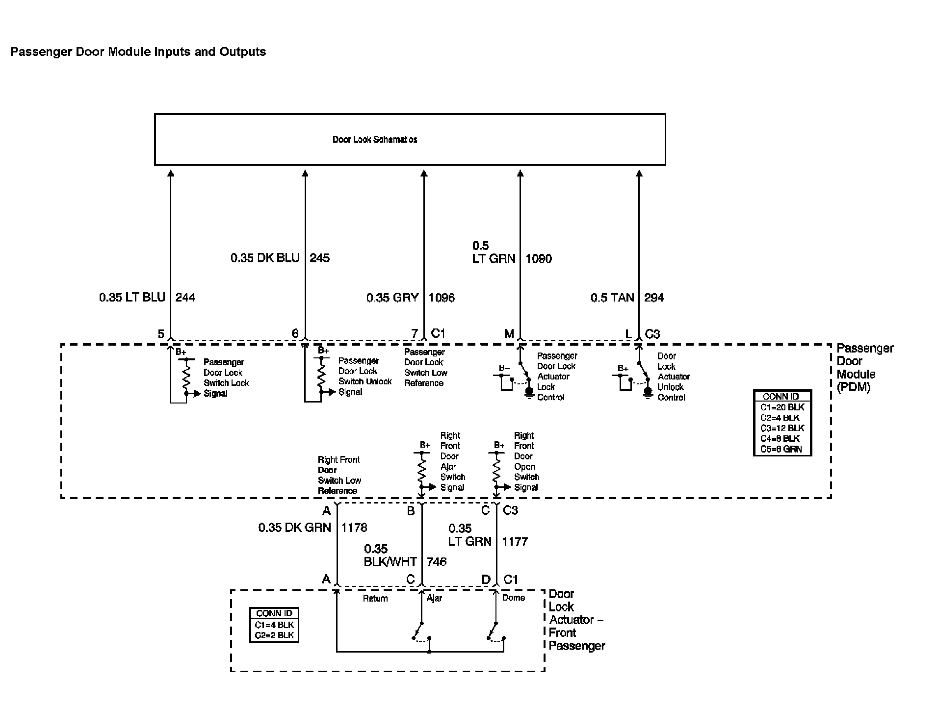
Door Control Module Diagram 3:




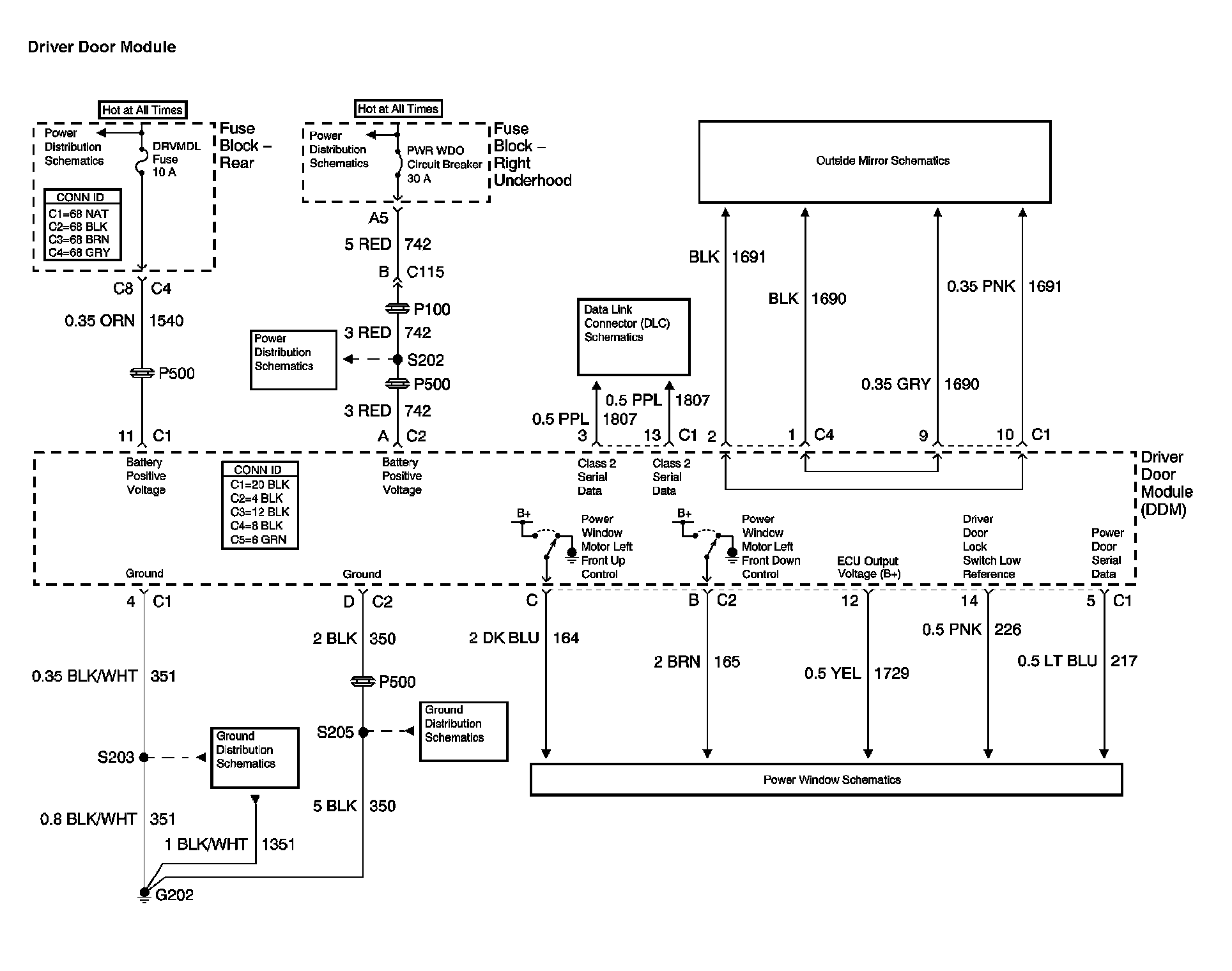
Door Control Module Diagram 4:




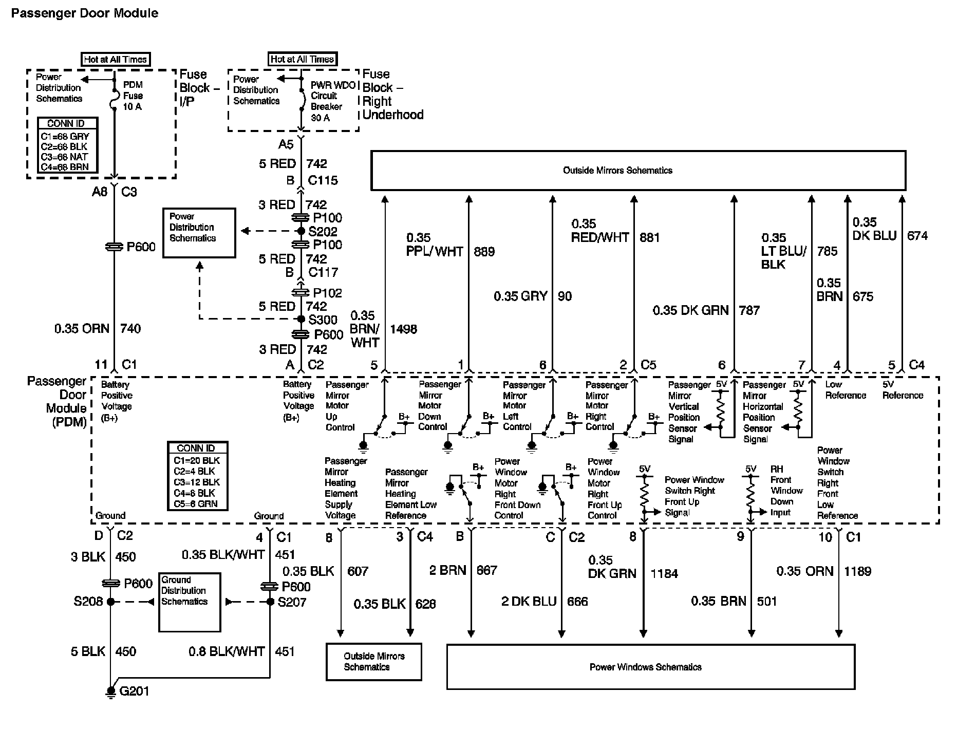
Door Control Module Diagram 5:




Door Control Module Diagram 6:






Locations: The locations for the Connectors, Grounds, Splices, and Grommets shown within these diagrams can be found via their numbers at Vehicle Locations. Locations