Curiosii for ever!
: Car repair manuals for everyone.
Home
>>
Buick
>>
2005
>>
Park Avenue V6-3.8L SC VIN 1
>>
Repair and Diagnosis
>>
Body and Frame
>>
Seats
>>
Power Seat Control Module
>>
Locations
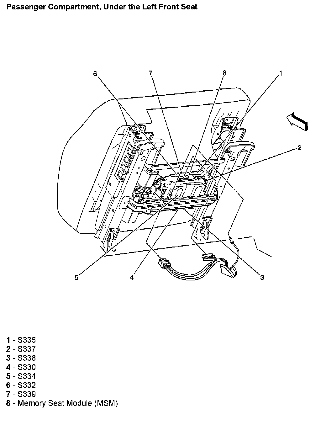
Power Seat Control Module: Locations
Passenger Compartment, Under The Left Front Seat: