Body Control System Diagrams
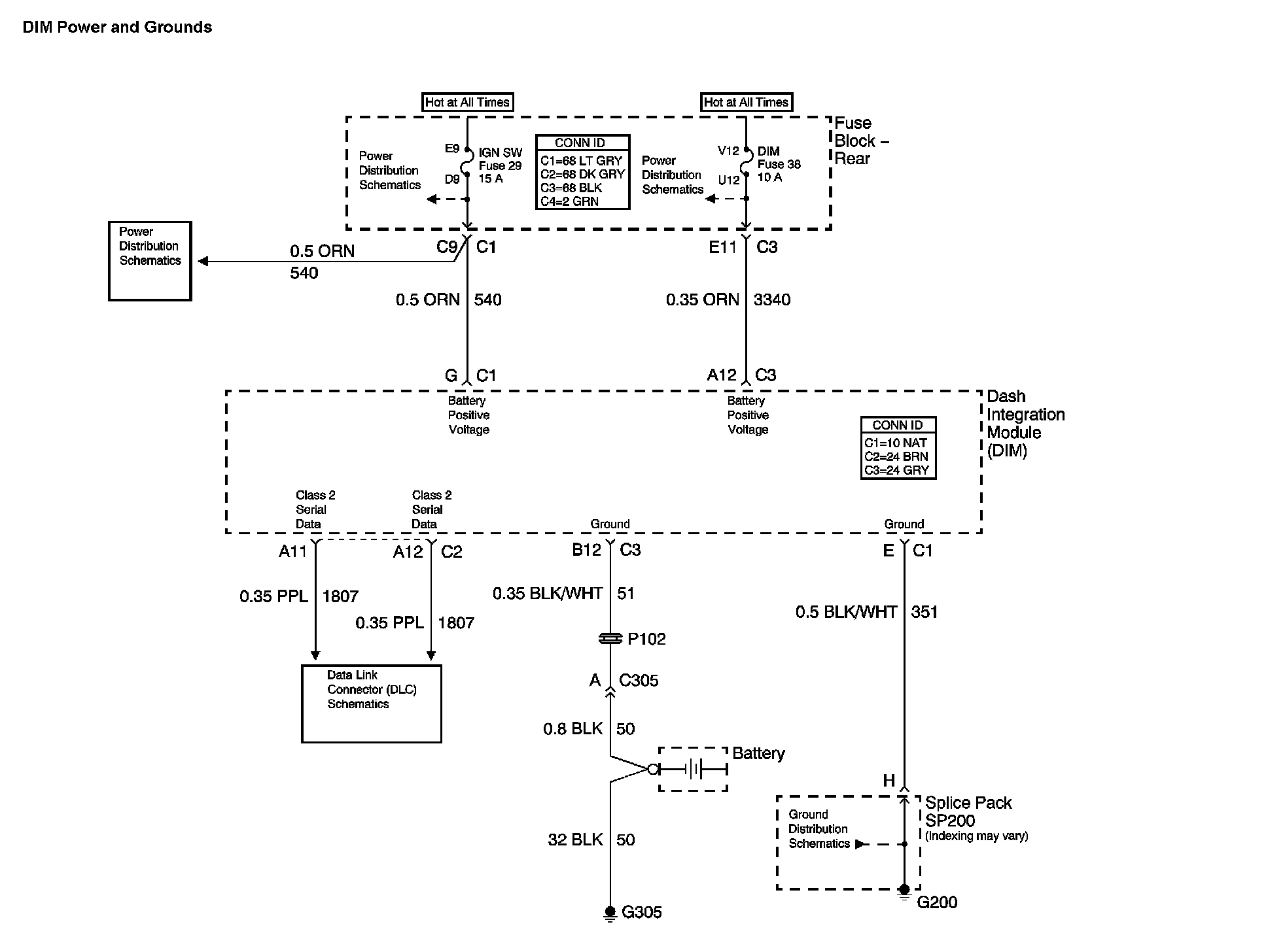
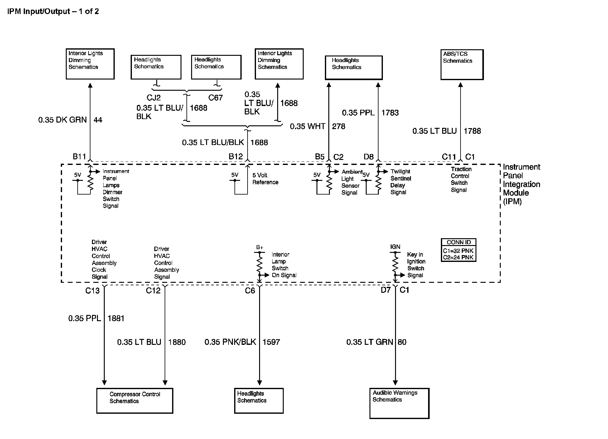
Body Control System Diagram 1:
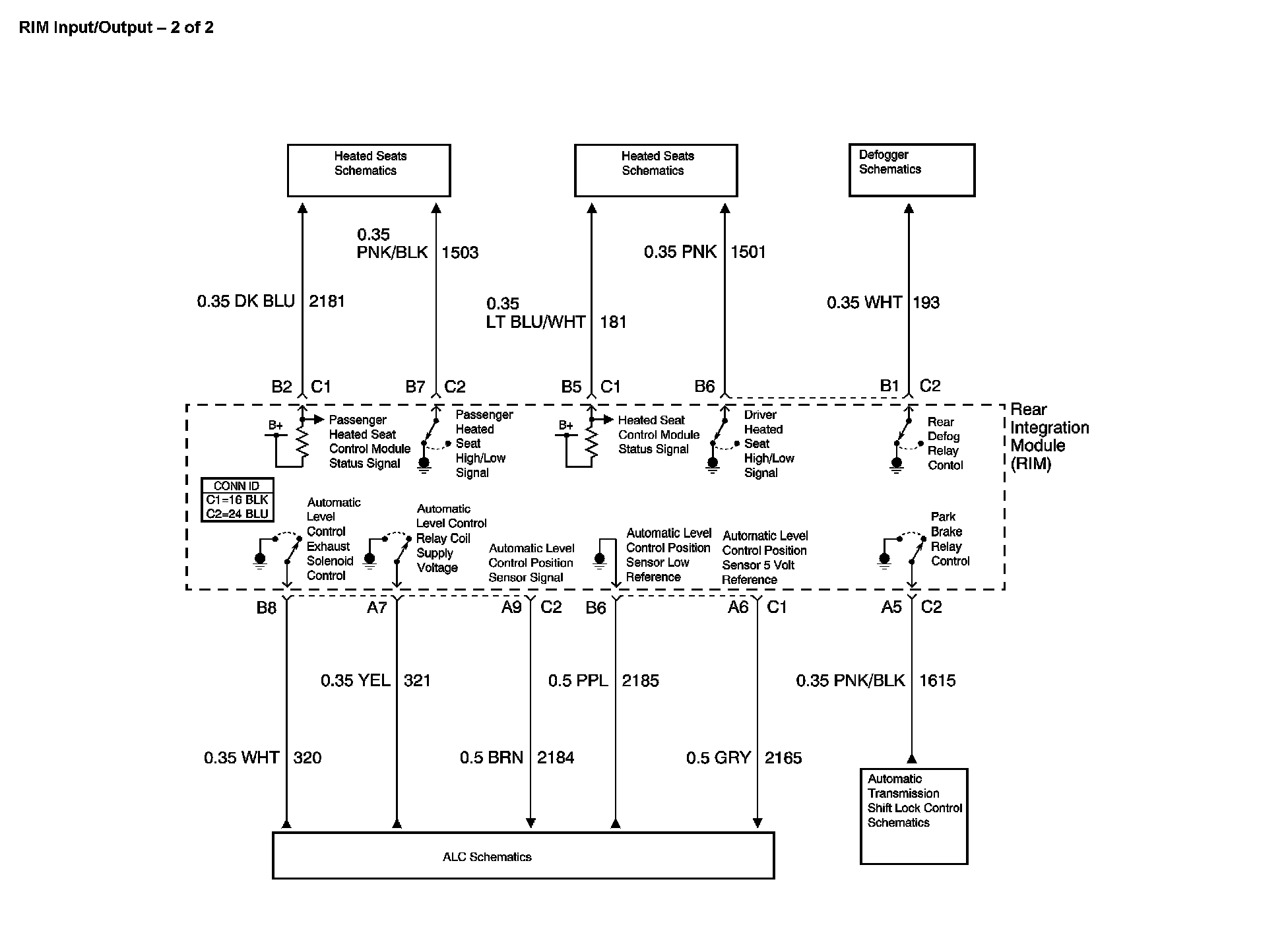
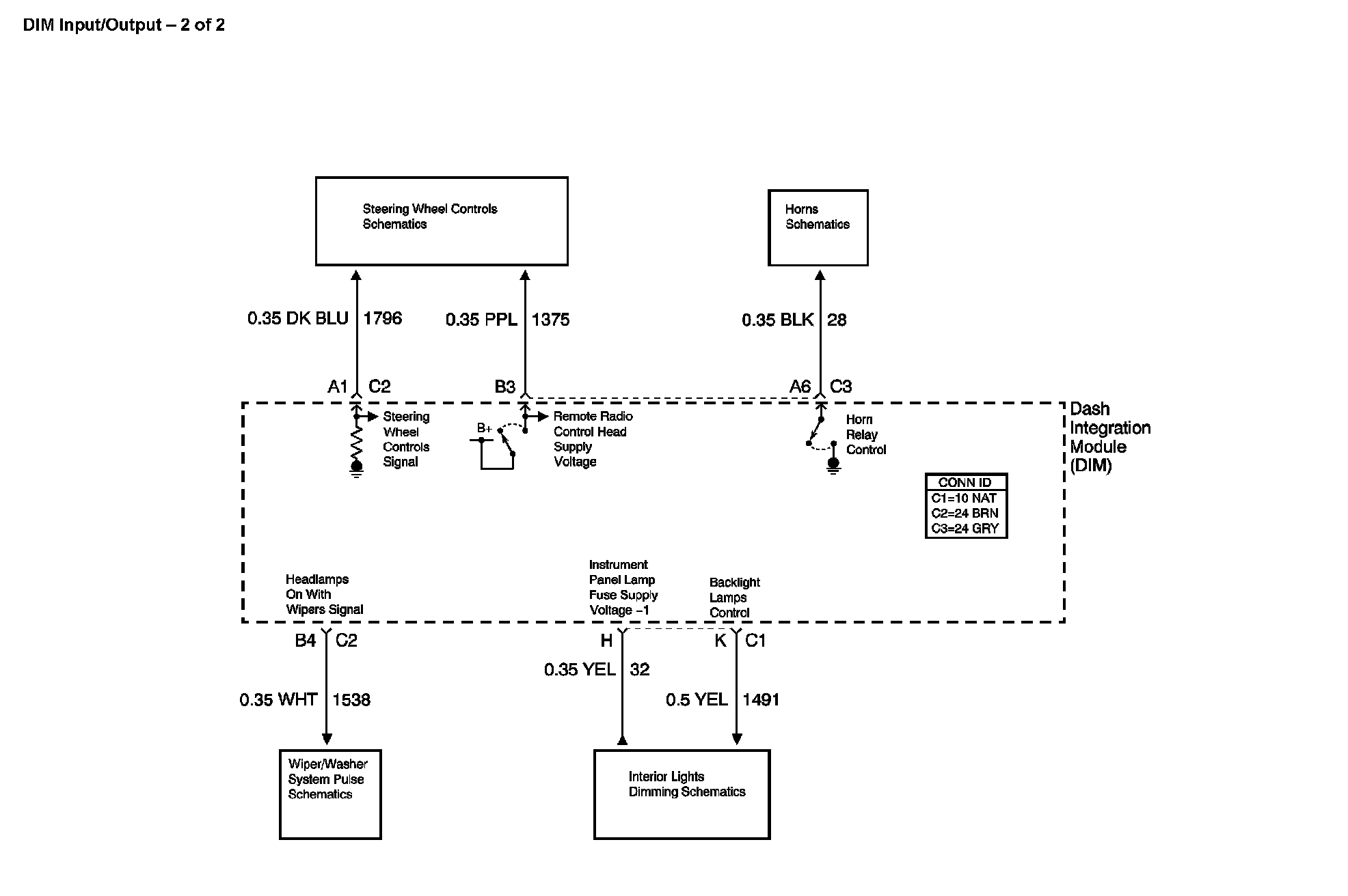
Body Control System Diagram 2:
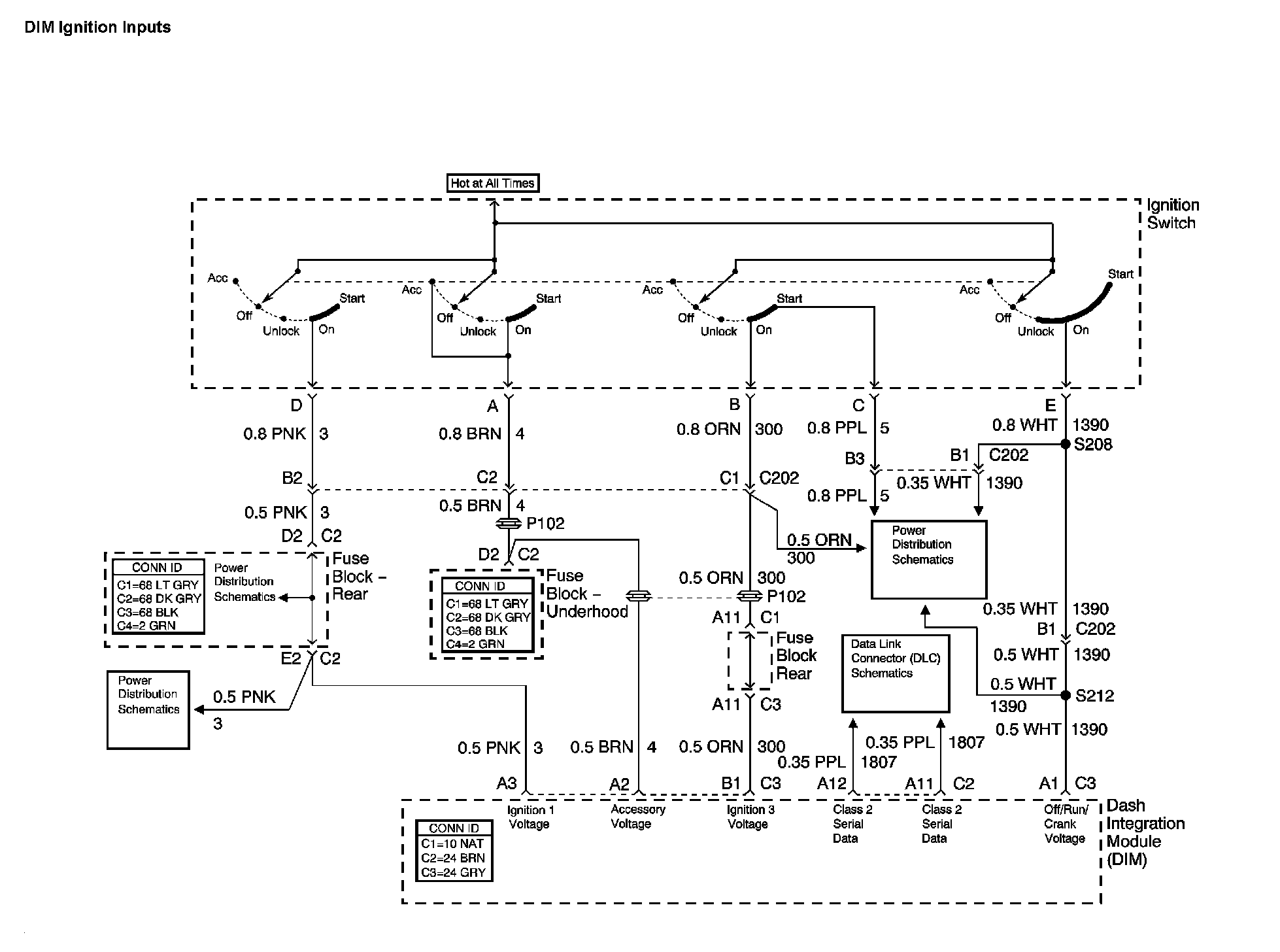
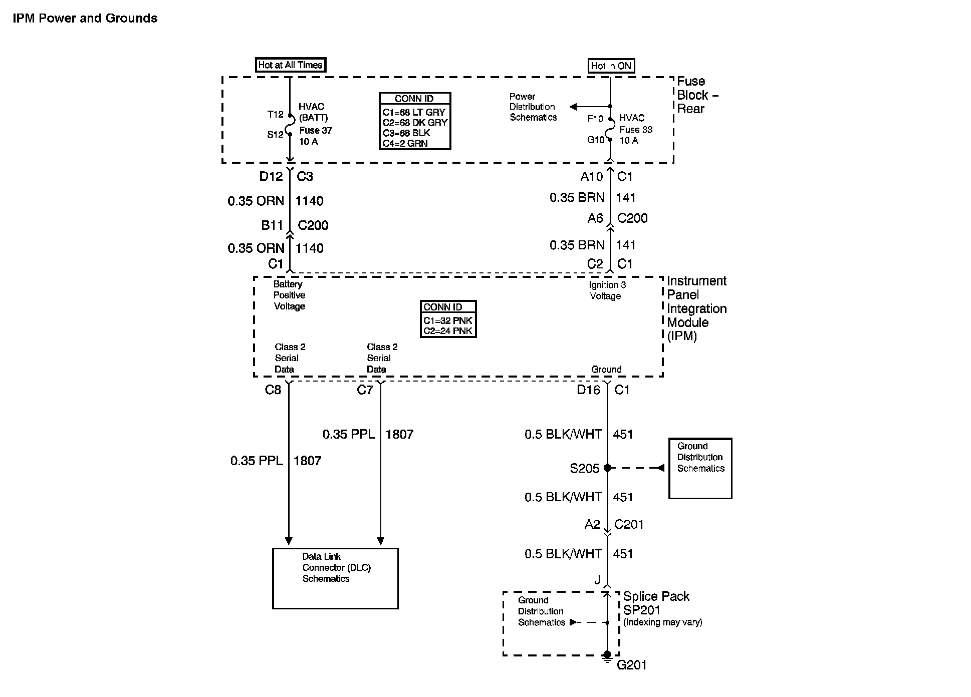
Body Control System Diagram 3:
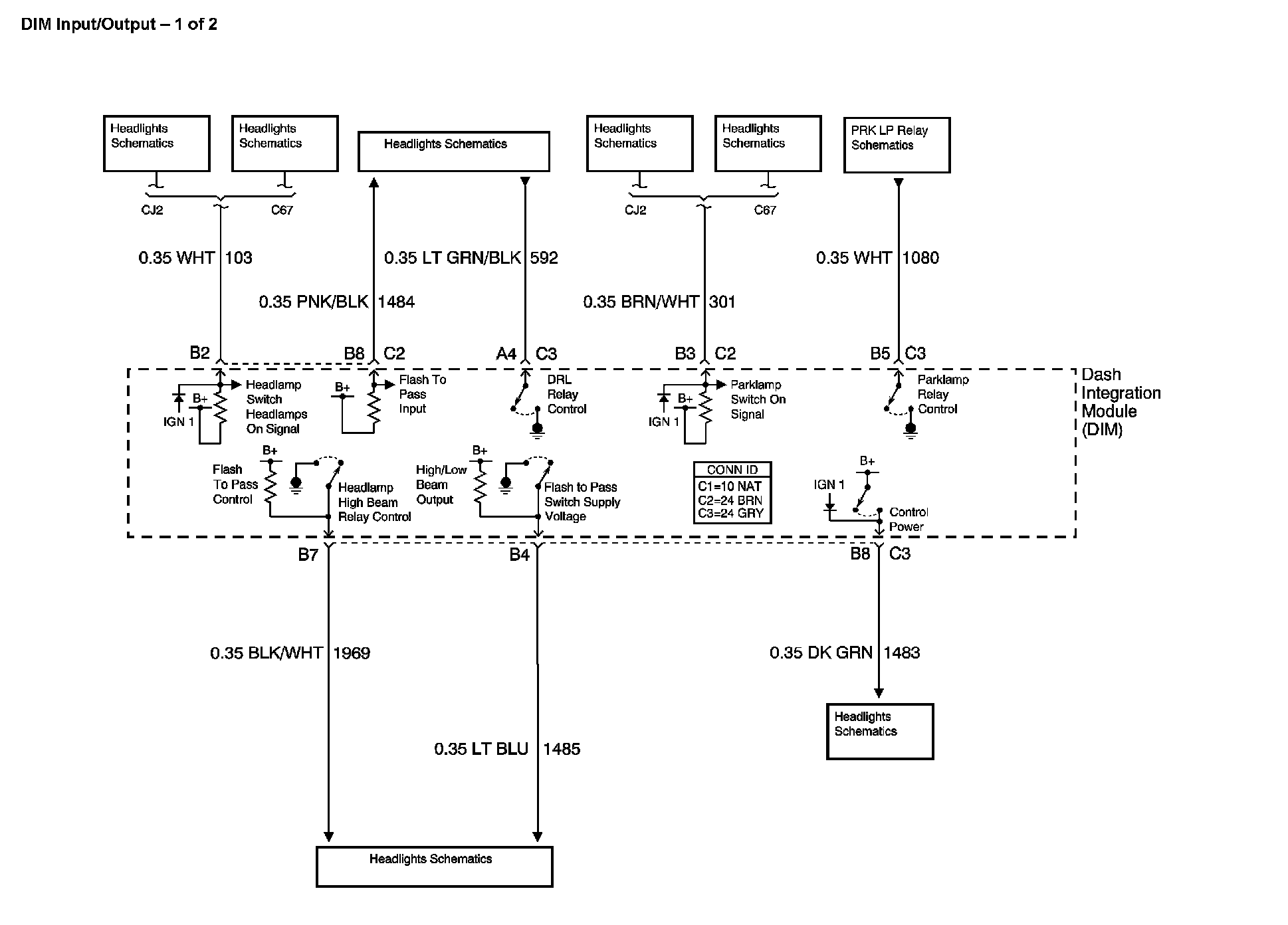
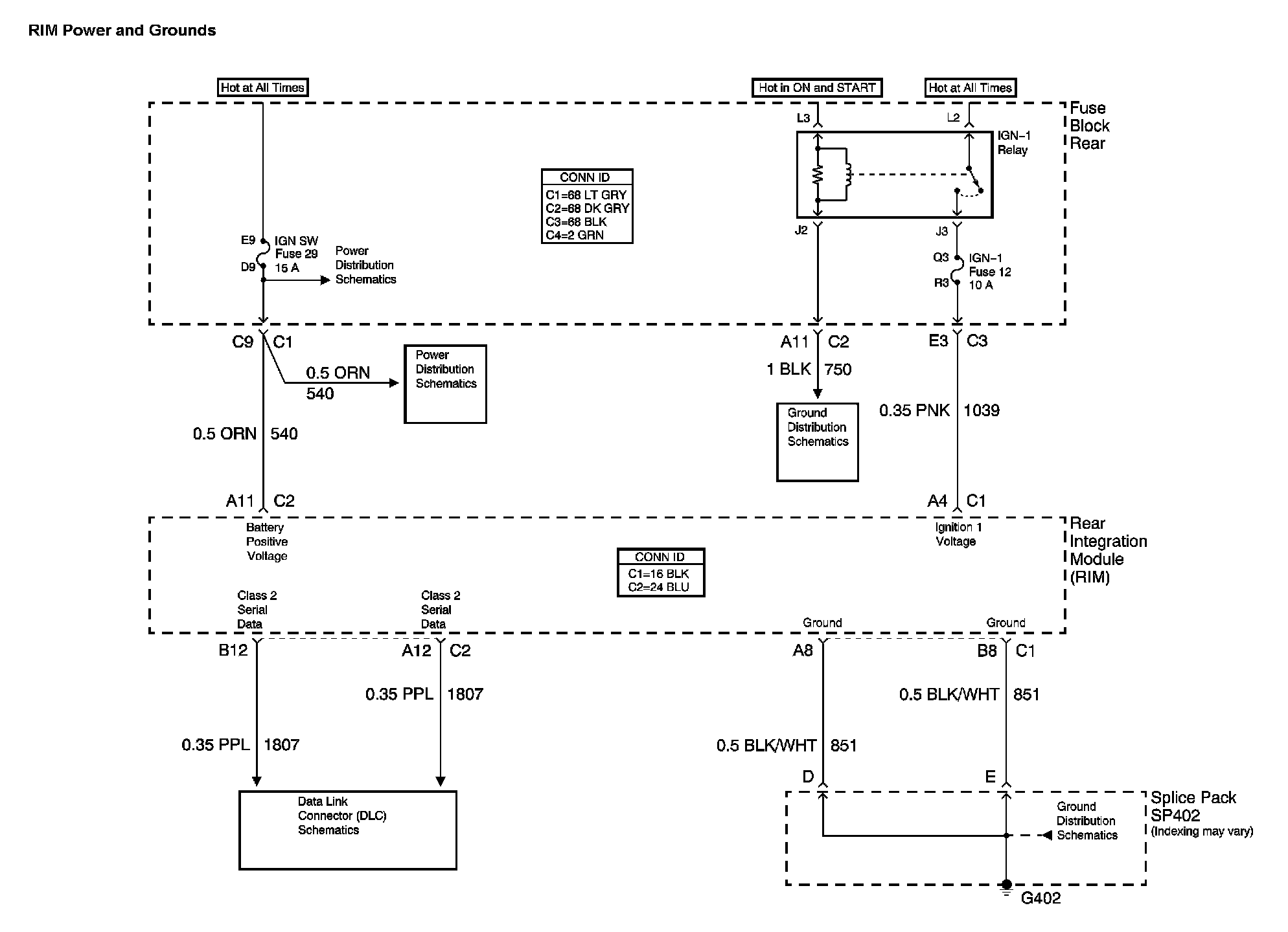
Body Control System Diagram 4:
Body Control System Diagram 5:
Body Control System Diagram 6:
Body Control System Diagram 7:
Body Control System Diagram 8:
Body Control System Diagram 9:
Body Control System Diagram 10:
LOCATION: The locations for the Connectors, Grounds, Splices, and Grommets shown within these diagrams can be found via their numbers at vehicle locations. Locations