Curiosii for ever!: Car repair manuals for everyone.

Body Control Module



Body Control Systems Diagram 1:




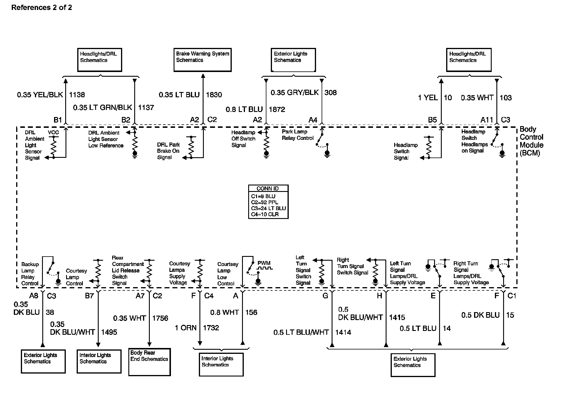
Body Control Systems Diagram 2:




Body Control Systems Diagram 3:






Location: The locations for the Connectors, Grounds, Splices, and Grommets shown within these diagrams can be found via their at Vehicle Locations. Locations