Cruise Control Module: Service and Repair
CRUISE CONTROL MODULE REPLACEMENT
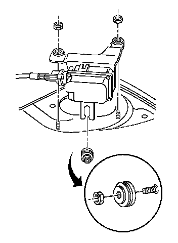
REMOVAL PROCEDURE
1. Remove the cruise control cable from the cruise control module.
IMPORTANT: The cruise control module is mounted to the left strut tower. Service the cruise control module as a complete unit.
2. Disconnect the electrical connector from the cruise control module.
3. Remove the cruise control module retaining nuts from the shock tower.
INSTALLATION PROCEDURE
1. Install the cruise control module on the shock tower mounting studs.
2. Install the cruise control module retaining nuts.
Tighten the cruise control module to shock tower nuts to 2 N.m (18 lb in).
NOTE: Refer to Fastener Notice in Service Precautions.
3. Connect the electrical connector to the cruise control module.
4. Install the cruise control cable to the cruise control module.