Curiosii for ever!: Car repair manuals for everyone.

Installation

CLUTCH ROTOR AND/OR BEARING INSTALL

TOOLS REQUIRED
- J 6083 Snap Ring Pliers #24 External
- J 8092 Driver Handle
- J 8433-1 Puller Bar
- J 8433-3 Forcing Screw
- J 9481-A Bearing Installer
- J 21352-A Support Block
- J 33017 Pulley And Bearing Assembly Installer
- J 33019 Bearing Staking Tool
- J 33023-A Puller Pilot
- J 34992 Compressor Holding Fixture




1. Place the pulley rotor on the J 21352-A in order to fully support the rotor hub during the bearing installation.

NOTE: Do not support the rotor by resting the pulley rim on a flat surface during the bearing installation or the rotor face will be bent.

2. Align the new bearing with the hub bore.
3. Using the J 9481-A and the J 8092 , drive the bearing into the hub.
The J 9481-A applies force to the outer race of the bearing.




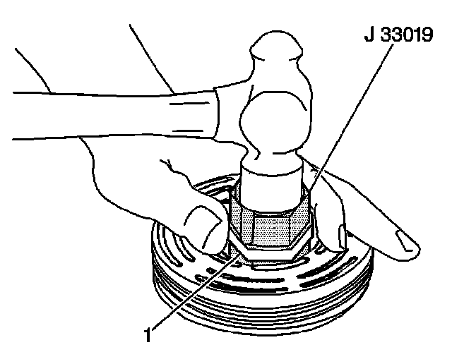
4. Place the J 33019 and the staking pin in the hub bore.
5. Shift the rotor and bearing assembly on the J 21352-A in order to fully support of the hub under the location of the staking pin.
6. Use a heavy-duty rubber band (1) in order to hold the stake pin in the guide of the J 33019.
7. Using care in order to prevent injury, strike the staking pin of the J 33019. Properly position the stake pin in the guide after each impact on the pin.

IMPORTANT: Do not allow a metal stake to contact the outer face of the bearing in order to prevent distortion of the outer race.

8. Continue to strike the pin of the J 33019 until a stake, similar to the original stake, is formed down to, but not touching, the bearing.




9. Stake three places 120 degrees apart.




10. With the compressor mounted to the J 34992 , position the rotor and bearing assembly on the front head.
11. Position the J 33017 and the J 33023-A directly over the inner race of the bearing.
12. Position the J 8433-1 on the J 33023-A.
13. Assemble the two through bolts and the washers of the J 34992 through the slots of the J 8433-1.
14. Thread the two through bolts into the J 34992.
Ensure that the thread of the through bolts engages the full thickness of the J 34992.
15. Tighten the J 8433-3 in the J 8433-1 in order to force the pulley rotor and bearing assembly onto the front head of the compressor.
16. If the J 33017 slips off direct, in-line contact with inner face of the bearing, use the following steps:
16.1. Loosen the J 8433-3.
16.2. Realign the J 33017 and the J 33023-A in order to ensure that the installer clears the front head.




17. Install the rotor and bearing assembly retainer ring using the J 6083.
18. Install the clutch plate and hub assembly.