Curiosii for ever!: Car repair manuals for everyone.

Body Control Systems





Body Control System Schematics

DIM Power and Grounds






DIM Ignition Inputs






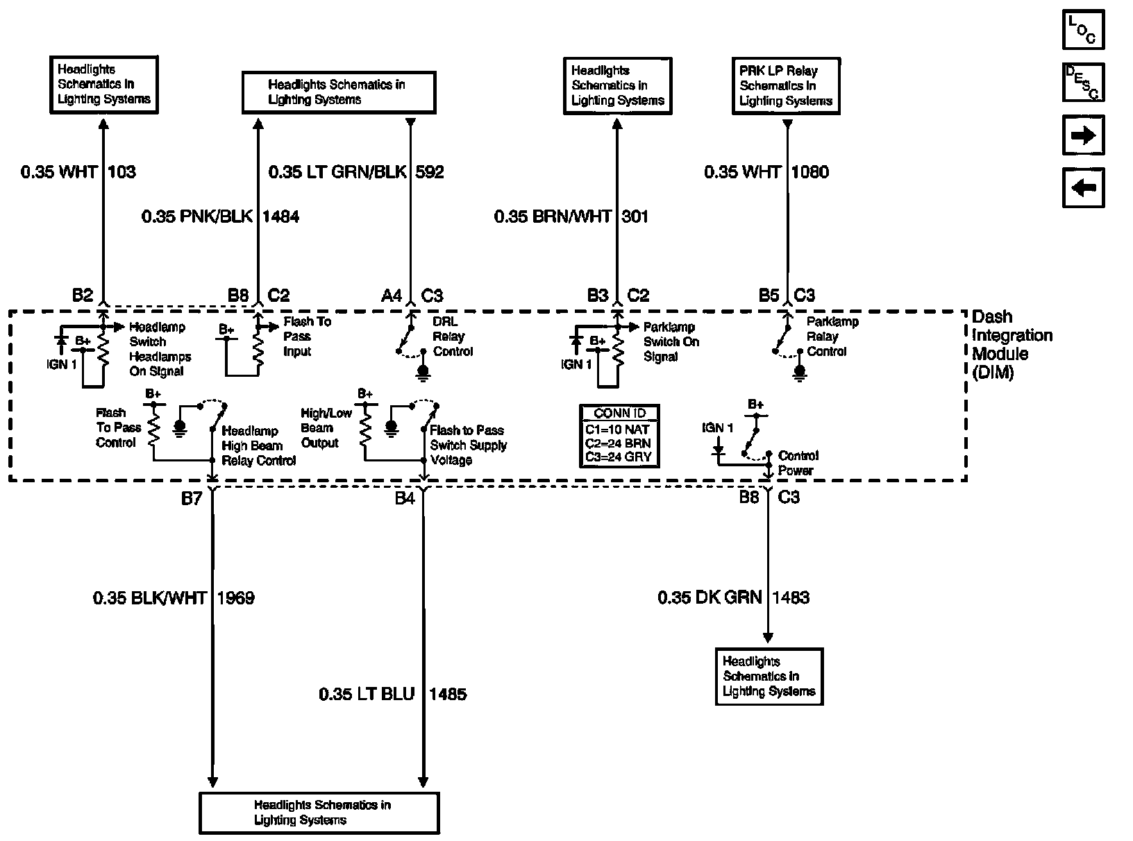
DIM Input/Output (1 of 2)






DIM Input/Output (2 of 2)






IPM Power and Grounds






IPM Input/Output (1 of 2)






IPM Input/Output (2 of 2)






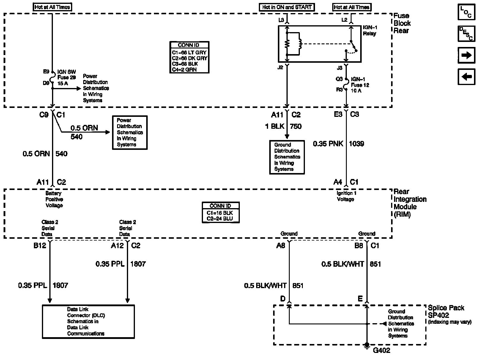
RIM Power and Grounds






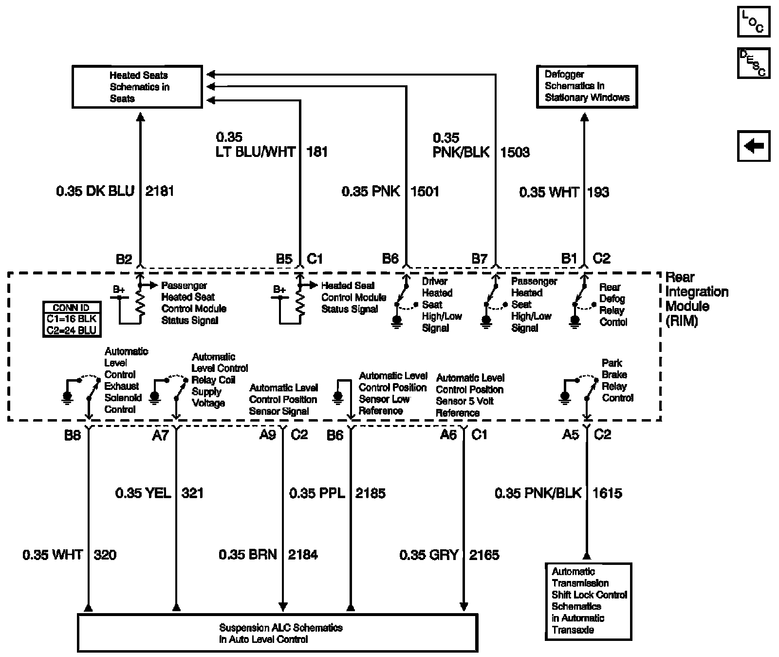
RIM Input/Output (1 of 2)






RIM Input/Output (2 of 2)