Curiosii for ever!
: Car repair manuals for everyone.
Home
>>
Buick
>>
2003
>>
Park Avenue V6-3.8L VIN K
>>
Parts and Labor
>>
Starting and Charging
>>
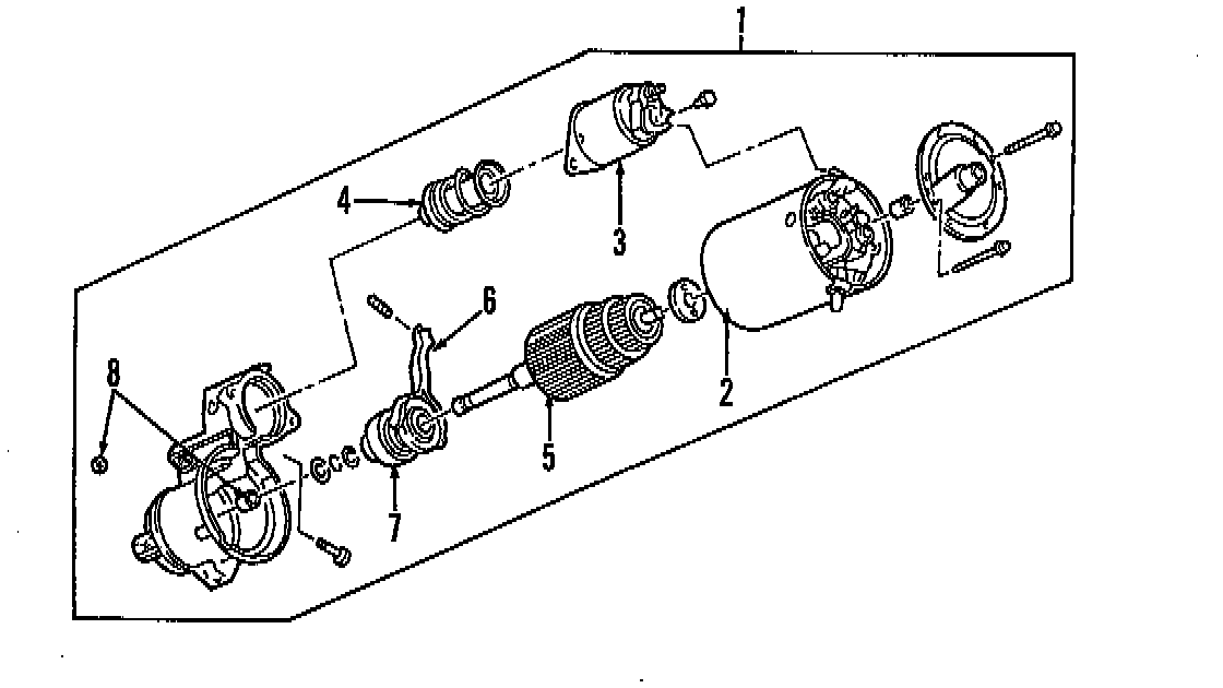
Starting System
>>
Images
Images
Starting System: