Global Positioning System Module: Service and Repair
COMMUNICATION INTERFACE MODULE REPLACEMENTREMOVAL PROCEDURE
1. Remove the rear compartment trim.
IMPORTANT: The vehicle communication interface module (VCIM) has a specific set of unique numbers that tie the module to each vehicle. These numbers, the 10-digit station identification and the 11-digit electronic serial number, are used by the National Cellular Network and OnStar(R) to identify the specific vehicle. Because these numbers are tied to the vehicle identification number of the vehicle, you must never exchange these parts with those of another vehicle.
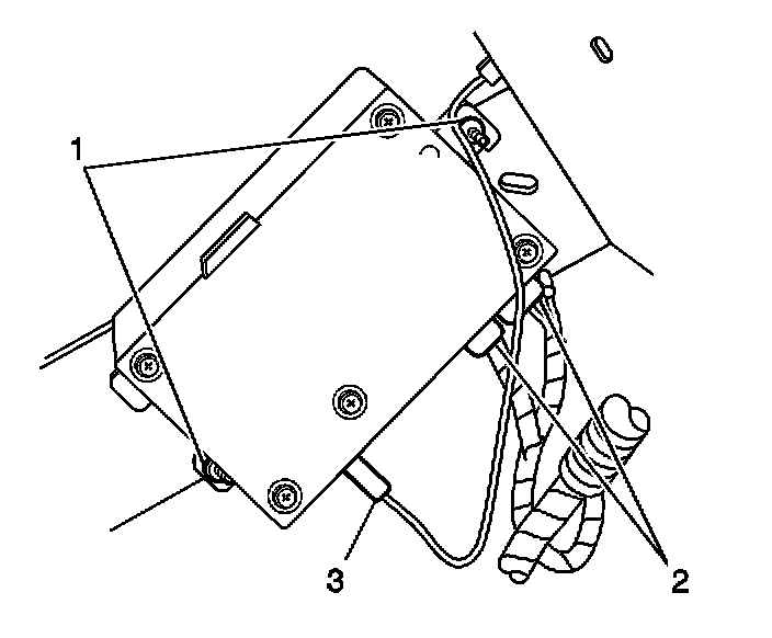
2. Disconnect the antenna (3) and electrical connections (2) from the vehicle communication interface module (VCIM).
3. Remove the bolts (1) securing the VCIM.
4. Remove the vehicle VCIM from the vehicle.
INSTALLATION PROCEDURE
1. When replacing the VCIM, record the 11-digit electronic serial number (ESN) and the 10-digit station identification (STID) number from the label on the new VCIM (4).
2. Position the VCIM in the vehicle.
3. Install the bolts (1).
NOTE: Refer to Fastener Notice in Service Precautions.
Tighten
Tighten the bolts (1) to 4 N.m (36 lb in).
4. Connect the antenna cable (2) and electrical connections (3) to the VCIM (4).
5. Install the rear compartment trim.
6. Install the scan tool. Use the special functions menu in order to perform the OnStar(R) setup procedure for this vehicle.
IMPORTANT: After replacing the vehicle communication interface module, you must reconfigure the OnStar(R) system. Failure to reconfigure the system will result in an additional customer visit for repair. In addition, pressing and holding the white dot button on the keypad will NOT reset this version of the OnStar(R) system. This action will cause a DTC to set.
7. Move the vehicle to an open area that is away from tall buildings and with a clear view of unobstructed sky. Allow the vehicle to run for 10 minutes.
8. Use the ID information menu on the scan tool to access the new station ID (STID) and the electronic serial number (ESN) from the new VCIM.
9. Press the blue OnStar(R) button to connect to the OnStar(R) Call Center and perform the following procedure:
9.1. Tell the advisor that this vehicle has received a new VCIM.
9.2. Ask the advisor to add the new STID and the ESN to update the customer's account.
9.3. Follow any additional instructions from the OnStar(R) advisor.
9.4. Ask the advisor to activate the OnStar(R) Personal Calling feature, if available.
10. The default language for voice recognition in the generation 5 OnStar(R) module is English. To change the language resident in the module, refer to Service Programming System (SPS) (Remote Procedure)Service Programming System (SPS) (Pass-Thru Procedure)Service Programming System (SPS) (Off Board Remote Procedure)Service Programming System (SPS) (Off Board Pass-Thru Procedure) in Programming. Programming and Relearning