Curiosii for ever!: Car repair manuals for everyone.

Sunroof / Moonroof



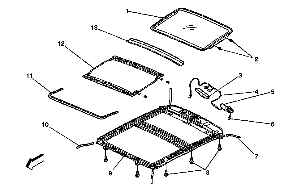
Power Sunroof Disassembled View

Sunroof Disassembled View




1 - Sunroof Window
2 - Sunroof Window Screws
3 - Sunroof Control Module
4 - Sunroof Wiring Harness
5 - Sunroof Motor/Actuator
6 - Sunroof Motor/Actuator Bolts
7 - Sunroof Drain Hose-Rear
8 - Sunroof Module Assembly Bolts
9 - Sunroof Module Assembly
10 - Sunroof Drain Hose-Front
11 - Sunroof Air Deflector
12 - Sunroof Sunshade Panel
13 - Sunroof Drain Channel