Curiosii for ever!
: Car repair manuals for everyone.
Home
>>
Buick
>>
2003
>>
LeSabre V6-3.8L VIN K
>>
Repair and Diagnosis
>>
Diagrams
>>
Electrical Diagrams
>>
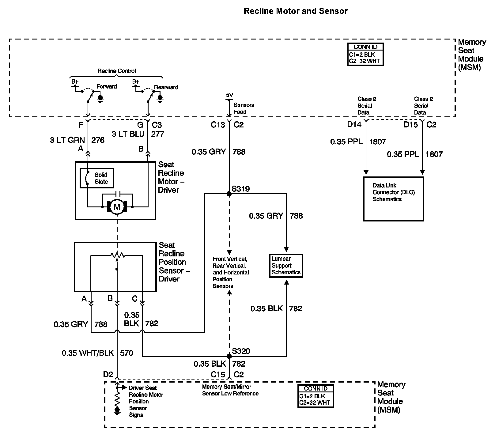
Memory Positioning Systems
Memory Positioning Systems
Memory Seats Diagram 1:
Memory Seats Diagram 2:
Memory Seats Diagram 3:
Memory Seats Diagram 4: