Curiosii for ever!: Car repair manuals for everyone.

Body Control Systems

Body Control Systems Diagram 1:




Body Control Systems Diagram 2:




Body Control Systems Diagram 3(1 Of 2):




Body Control Systems Diagram 3(2 Of 2):




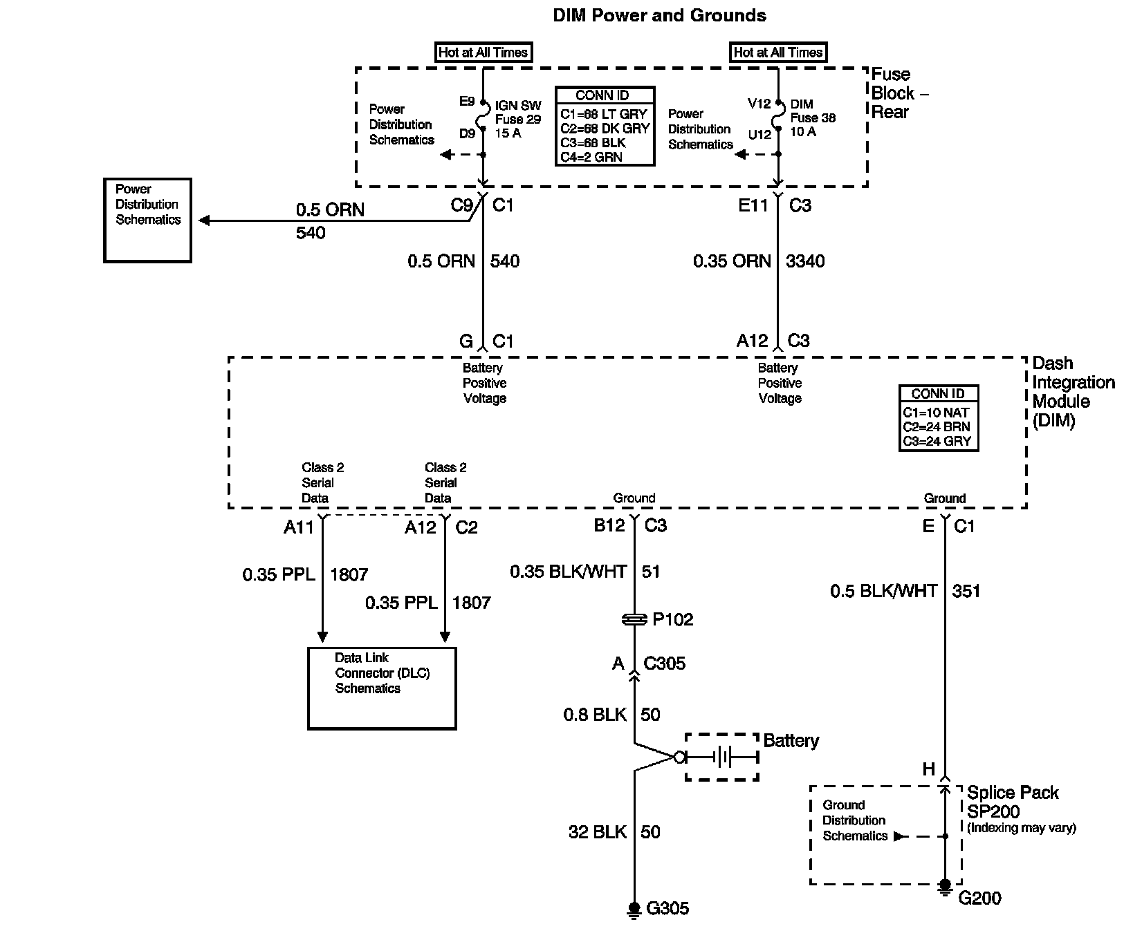
Body Control Systems Diagram 4:




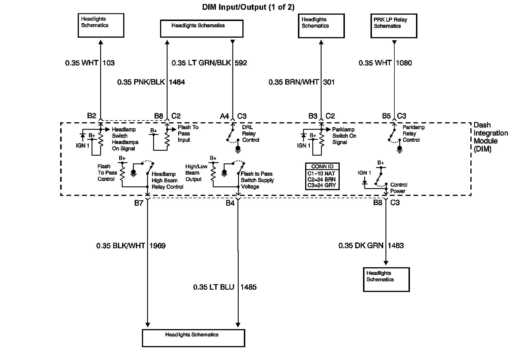
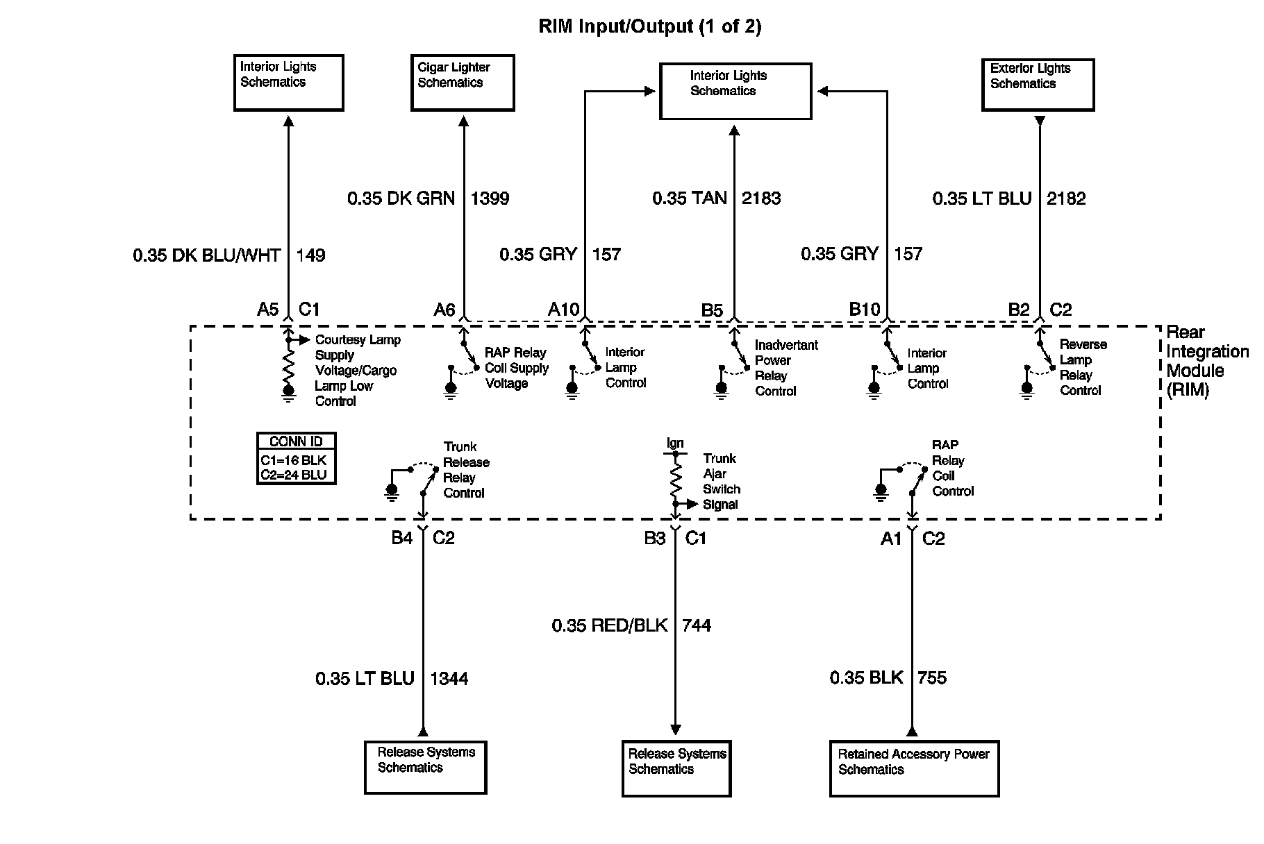
Body Control Systems Diagram 5(1 Of 2):




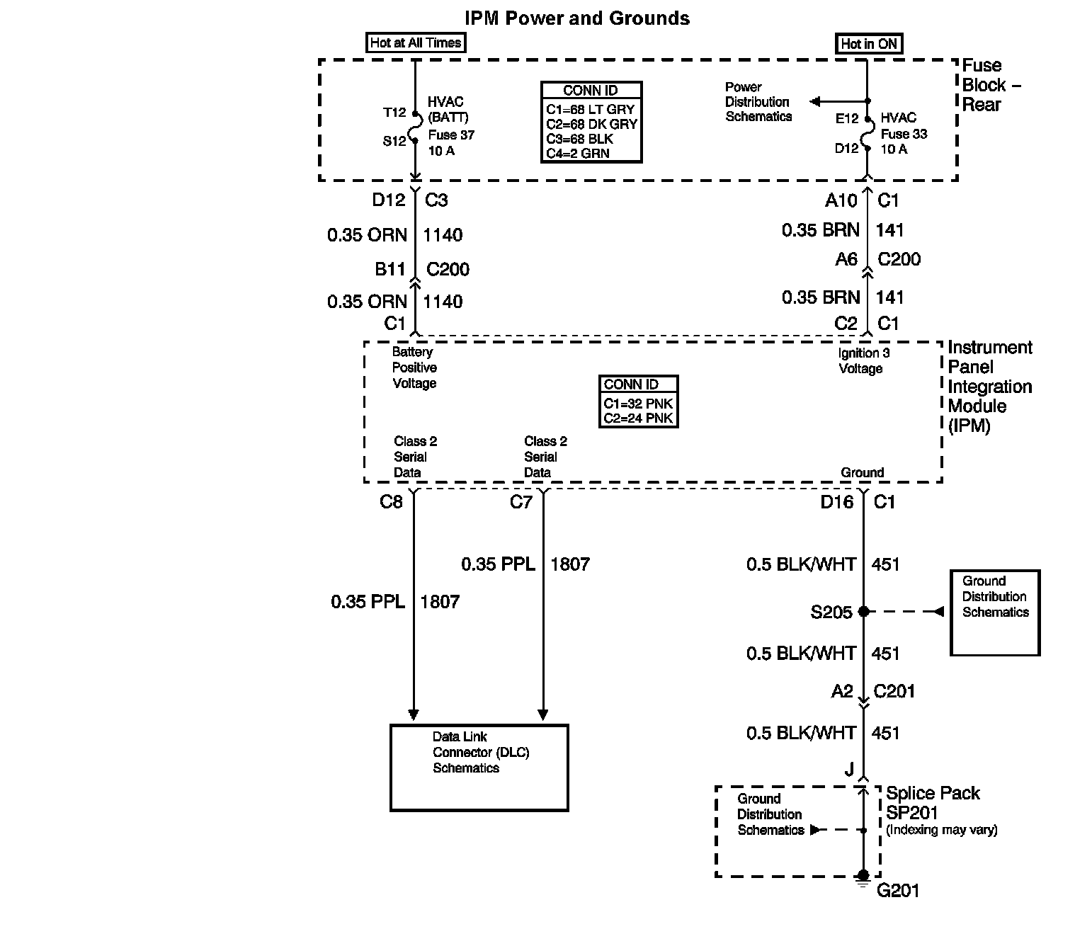
Body Control Systems Diagram 5(2 Of 2):




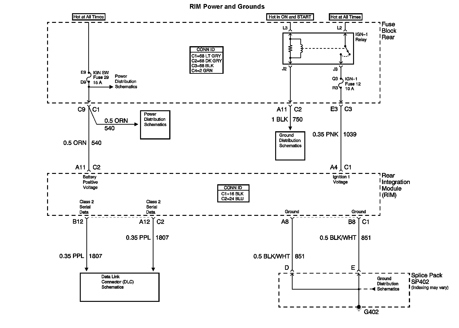
Body Control Systems Diagram 6:




Body Control Systems Diagram 7(1 Of 2):




Body Control Systems Diagram 7(2 Of 2):