Curiosii for ever!
: Car repair manuals for everyone.
Home
>>
Buick
>>
2001
>>
Regal V6-3.8L SC VIN 1
>>
Repair and Diagnosis
>>
Diagrams
>>
Electrical Diagrams
>>
Steering
>>
System Diagram
>>
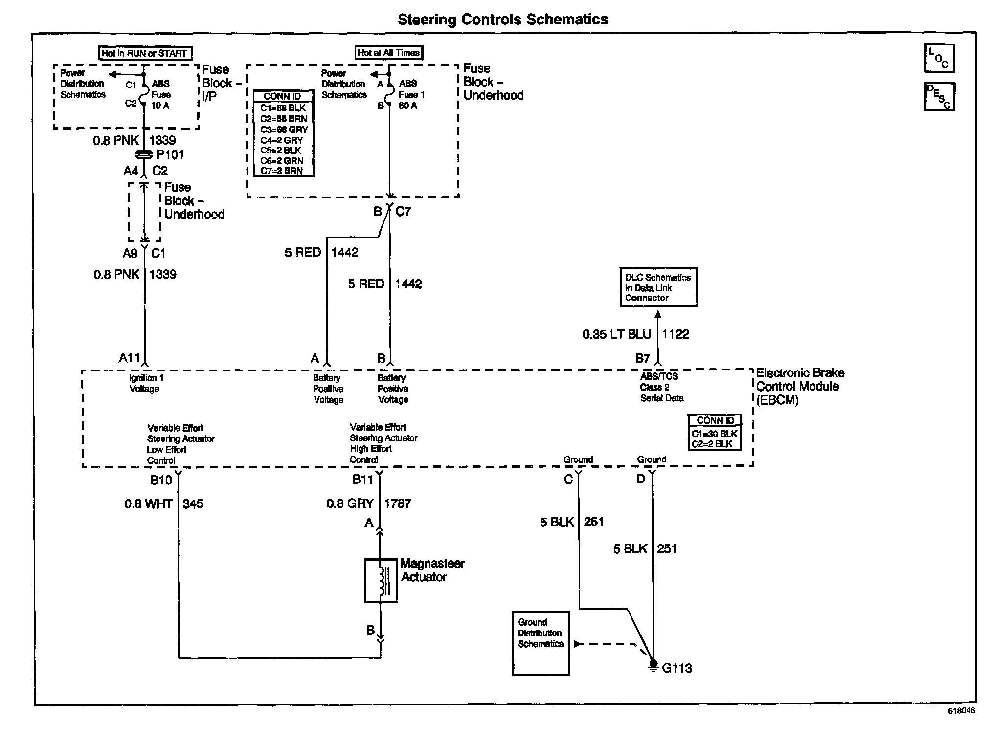
Steering Control Schematics
Steering Control Schematics
Steering Controls Schematics: