Curiosii for ever!: Car repair manuals for everyone.

Lower Control Arm Bushings Replacement-Front

Removal Procedure

- Tools Required
- J 21474-01 Control Arm Bushing Service Set
- J 34126 Driven Sprocket Support Bearing Installer
- J 35379 Front Knuckle Support
- J 21474-27 Puller Bolt
- J 21474 Bushing Installer
- J 34126 Driven Sprocket Support Bearing Installer
- J 35379 Front Knuckle Support
- J 21474-02 Bushing Installer
- J 214 74-4 Nut

1. Remove the lower control arm. Refer to Lower Control Arm Replacement.
2. Secure the lower control arm in a vice.





3. Mark the lower control arm along the flat edge of the bushing flange.

Important: Apply J 23444-A (or equivalent high pressure lubricant ) to the threads of the J 21474-27





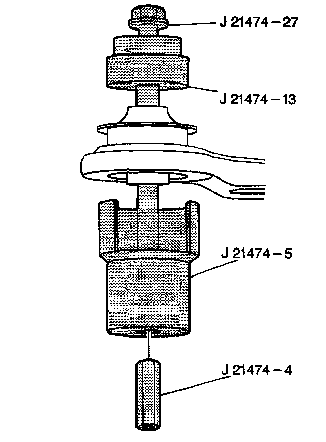
4. Assemble the following bushing removal tools as shown:
- J 21474-27
- J 41014-1
- J 34126
- J 35379
- J21474-02
- J21474-4
5. Tighten the J 21474-4
6. Disassemble the bushing removal tools.

Installation Procedure

- Tools Required
- J21474-01 Control Arm Bushing Service Set

Important: The lower control arm vertical bushing MUST be installed in the same position which it was removed in order to maintain the original vehicle ride, handling and road feel.





1. Align the flat edge of the bushing flange to the mark in the control arm (1). Ensure that the flat edge of the bushing flange is 30 degrees (2) from the centerline of the lower control arm. Ensure that the thin slot in the bushing is facing outboard.
2. Insert the bushing into the control arm.

Important: Apply J 23444-A (or equivalent high pressure lubricant) to the threads of the J21474-27





3. Assemble the following bushing installation tools as shown:
3.1. J21474-27
3.2. J 41014-1
3.3. J 21474-5
3.4. J 21474-4
4. Tighten the J 21474-4
5. Disassemble the bushing installation tools.
6. Install the lower control arm. Refer to Lower Control Arm Replacement