Curiosii for ever!
: Car repair manuals for everyone.
Home
>>
Buick
>>
2000
>>
Park Avenue Ultra V6-3.8L SC VIN 1
>>
Repair and Diagnosis
>>
Diagrams
>>
Electrical Diagrams
>>
Locks
>>
Power Locks
>>
Door Control Module Schematics
>>
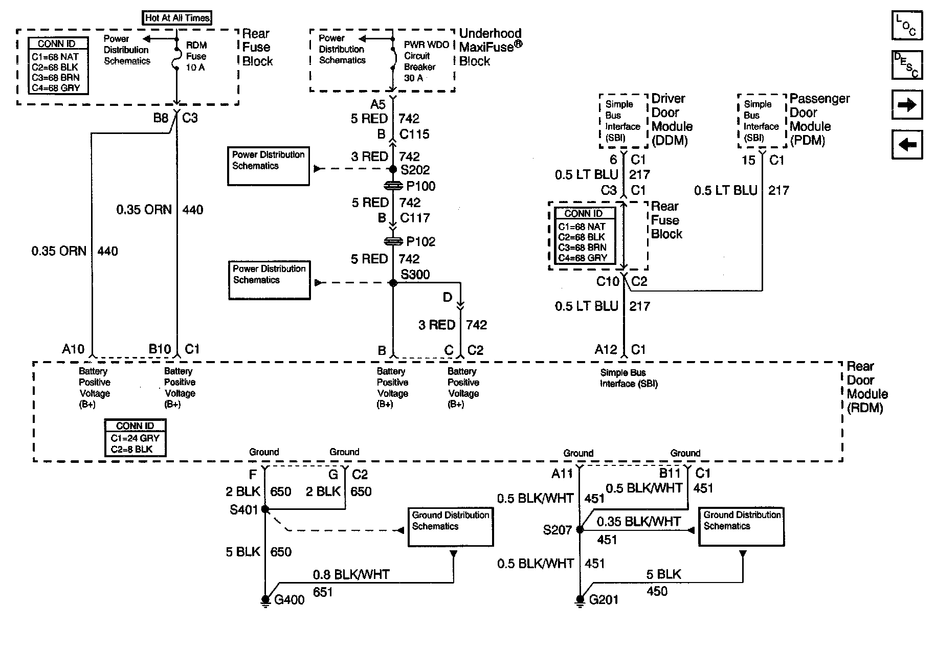
Rear Door Module
Rear Door Module
Door Control Module Schematics: Rear Door Module: