Curiosii for ever!: Car repair manuals for everyone.

Pressure Control Solenoid Replacement

Removal Procedure






1. Remove the case side cover. Refer to Case Side Cover Replacement.
2. Disconnect the transaxle wiring harness.
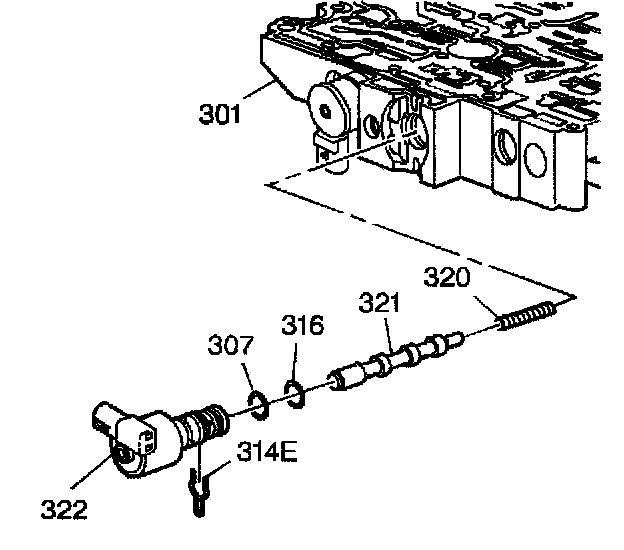
3. Remove the pressure control solenoid (322).

Installation Procedure






1. Install the pressure control solenoid (322).
2. Connect the transaxle wiring harness.
3. Install the case side cover. Refer to Case Side Cover Replacement.