Curiosii for ever!: Car repair manuals for everyone.

Enhanced EVAP System Operation





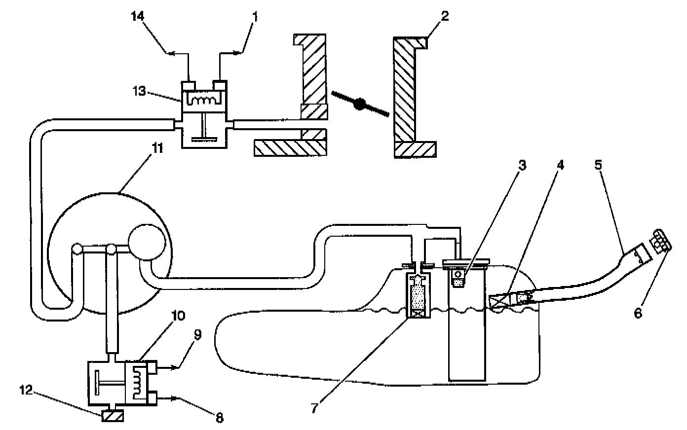
The basic Evaporative Emission ([1][2]EVAP) Control system used on all vehicles is the charcoal canister storage method. This method transfers fuel vapor from the fuel tank to an activated carbon (charcoal) storage device (canister) to hold the vapors when the vehicle is not operating. When the engine is running, the fuel vapor is purged from the carbon element by intake air flow and consumed in the normal combustion process.

The [1][2]EVAP purge valve allows manifold vacuum to purge the canister. The Powertrain Control Module (PCM) supplies a ground to energize the EVAP purge valve (purge ON). The EVAP purge valve control is Pulse Width Modulated (PWM) or turned ON and OFF several times a second. The PCM controlled PWM output is commanded when the appropriate conditions have been met:
^ Engine coolant temperature above 50°C (77°F).
^ After the engine has been running about 3 minutes on a cold start or 45 seconds on a warm start.
^ The vehicle is operating in closed loop fuel control.

Canister purge PWM duty cycle varies according to operating conditions determined by mass air flow, fuel trim, and intake air temperature. Canister purge will be disabled if TP angle increases to above 60%. Canister purge will be re-enabled when TP angle decreases below 58%.

The evaporative leak detection diagnostic strategy is based on applying vacuum to the EVAP system and monitoring vacuum decay. The fuel level sensor input to the PCM is used to determine if the fuel level in the tank is correct to run the [1][2]EVAP diagnostic tests. To ensure sufficient volume in the tank to begin the various diagnostic tests, the fuel level must be between 15% and 85%. The PCM monitors system vacuum level via the fuel tank pressure sensor input.