Curiosii for ever!
: Car repair manuals for everyone.
Home
>>
Buick
>>
1999
>>
Regal V6-3.8L SC VIN 1
>>
Repair and Diagnosis
>>
Diagrams
>>
Electrical Diagrams
>>
Automatic Transmission/Transaxle
>>
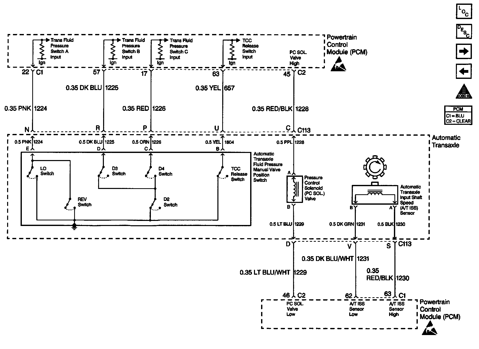
Transmission Position Sensor/Switch, A/T
Transmission Position Sensor/Switch, A/T