Curiosii for ever!: Car repair manuals for everyone.

Body Control Module: Service and Repair




REMOVAL PROCEDURE

CAUTION: Refer to Battery Disconnect Caution in Service Precautions.

1. Disconnect the negative battery cable.
2. Remove the right closeout/insulator panel.
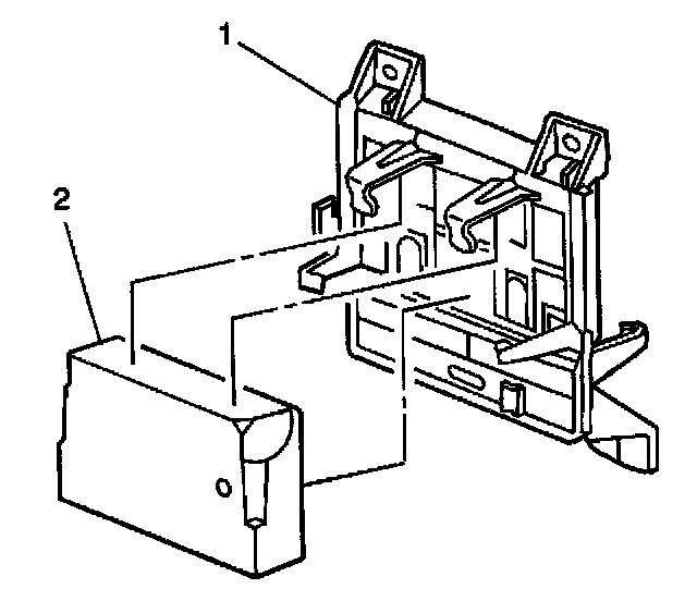
3. Remove the body control module (2). Spread the latch tabs on the sides of the bracket (1) while pulling downward, remove from mounting bracket.
4. Disconnect the electrical connector.

INSTALLATION PROCEDURE
1. Connect the electrical connector to the body control module (2).
2. Install the module to the mounting bracket (1). Slide the module upward and slightly rearward until locking tabs engage.
3. Install the right closeout/insulator panel.
4. Install the negative battery cable.