Curiosii for ever!
: Car repair manuals for everyone.
Home
>>
Buick
>>
1997
>>
Regal V6-3.8L SC VIN 1
>>
Repair and Diagnosis
>>
Powertrain Management
>>
Computers and Control Systems
>>
EGR Valve Position Sensor
>>
Locations
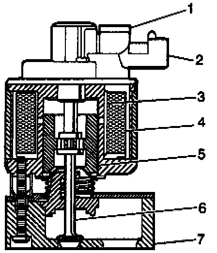
EGR Valve Position Sensor: Locations
Internal View:
LEGEND
(1)
Cap-Sensor
(2)
Sensor-EGR Pintle Position
(3)
Pole Piece-Primary
(4)
Bobbin and Coil Assembly
(5)
Sleeve-Armature
(6)
Valve-Pintle
(7)
Armature and Base Assembly