Curiosii for ever!: Car repair manuals for everyone.

Base Braking Mode






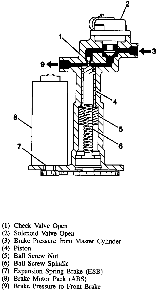
Under normal operating conditions, the brake systems will operate using conventional braking by means of brake pedal force, the vacuum booster, and the compact master cylinder. For the front wheels, the brake fluid flows from the master cylinder, through the ABS hydraulic modulator, through the TCS hydraulic modulator and then out to the front wheels. The fluid flow to the rear wheels flows first through the master cylinder, through the ABS hydraulic modulator, and then out to the rear wheels.