9K-2 Driver's Door Lock/Unlock Inoperative, Passenger Operative
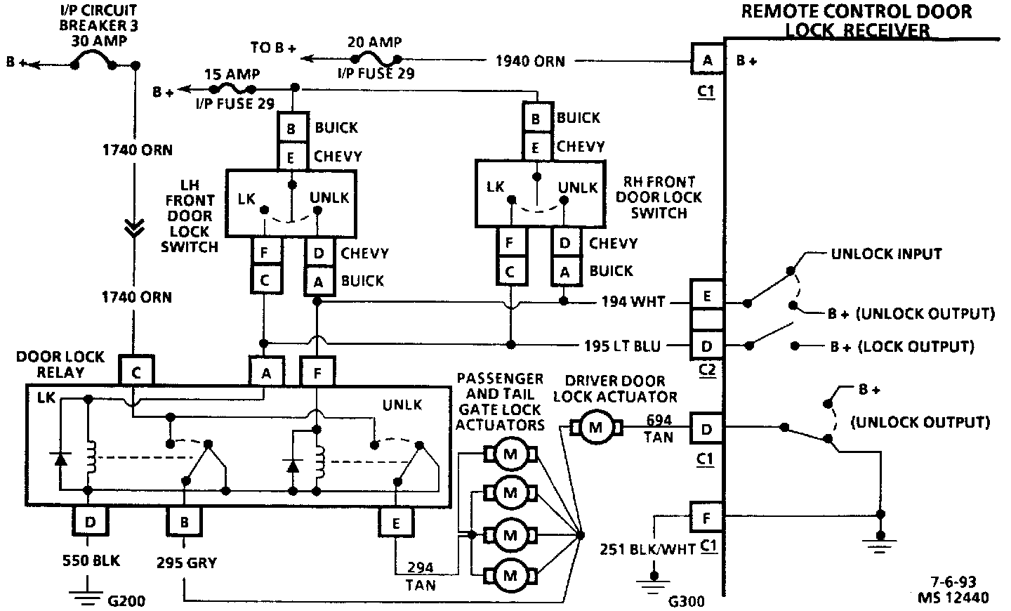
CIRCUIT DESCRIPTION
Lock function: Battery voltage is applied through the power door lock relay, and CKT 295 to the driver's door lock motor. The driver's door lock motor is grounded through CKT 694 and the RCDLR. Unlock function: The RCDLR applies voltage to the driver's door lock motor through CKT 694. The driver's door lock motor is grounded through CKT 295 and the power door lock relay.
CHART TEST DESCRIPTION number(s) below refer to circled number(s) on the diagnostic chart.
1. Operating the door lock switches will indicate if drivers door lock functions.
2. Check for unlock signal at the RCDLR.
3. Check for voltage on CKT 694. Voltage on CKT 694 would prevent the driver's door lock from locking.
4. Check that the RCDLR applies voltage to CKT 694 when an unlock request is present.
5. Check that the RCDLR grounds CKT 694 to enable a lock request.
6. Check for open in CKT 295, or 694 to drivers door lock actuator.
DIAGNOSTIC AIDS Program a known good transmitter and test the driver's door lock and unlock functions. If the driver's door lock and unlock functions operate normally, the original transmitter was defective. If the driver's door lock and unlock functions are still inoperative replace the RCDLR. If a known good transmitter will not program, refer to 9K-8. 9K-8 Remote Control Door Lock Receiver/Trans Will Not Program