Curiosii for ever!: Car repair manuals for everyone.

Vehicle Ride (Trim) Height Specifications


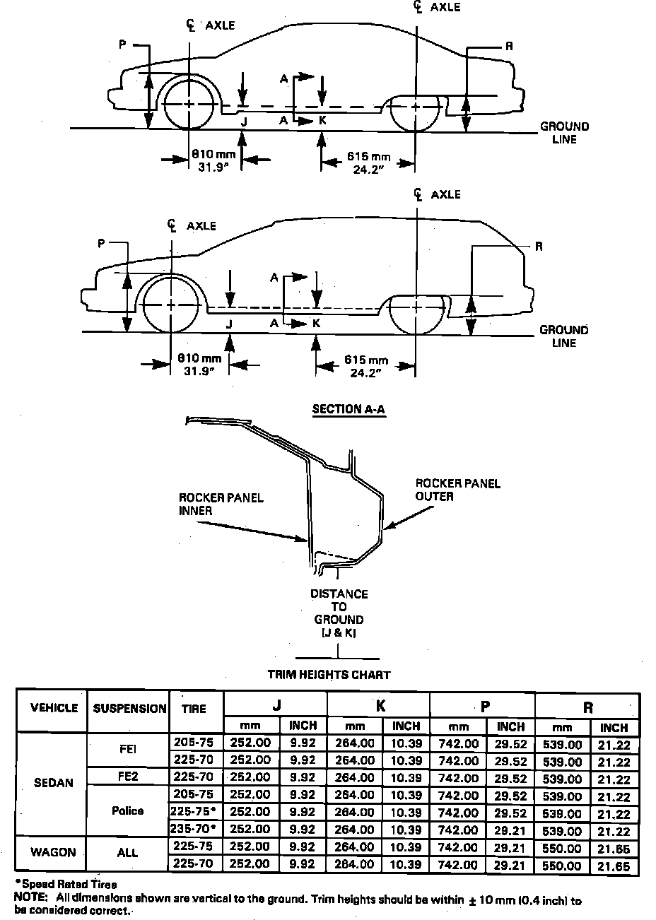
Fig. 45 Vehicle Trim Height Measurements:






Trim heights are checked with tires at recommended pressure, fuel tank at capacity, front seat in rear position, no passengers and trunk empty, except for spare tire and jack.

Refer to Fig. 45 for trim height measurements.