Curiosii for ever!: Car repair manuals for everyone.

Power Steering Pressure Switch: Testing and Inspection

Chart C-1E - Power Steering Pressure Switch Check:




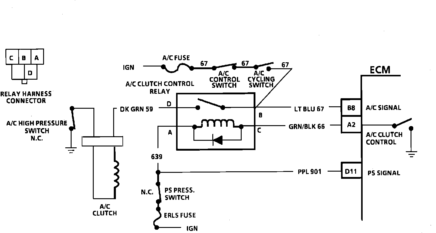
Wiring Diagram for Chart C-1E Power Steering Pressure Switch Check:





CHART C-1E POWER STEERING PRESSURE SWITCH (PSPS) CHECK


Circuit Description:
The power steering pressure switch opens when power steering pressure goes high, such as on a full turn in either direction. When the power steering switch opens, it turns the A/C relay "OFF," and also sends a signal to the ECM. The ECM uses this signal for idle control.


Test Description: Numbers below refer to circled numbers on the diagnostic chart.
1. Checks to see that power steering pressure switch opens when pressure goes high.


2. Checks to see that power steering pressure switch is normally closed.