Curiosii for ever!: Car repair manuals for everyone.

Thermo Element Replacement



Thermo Element Replacement

Tools Required

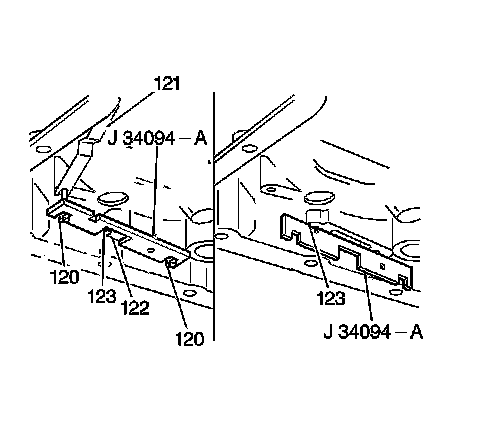
J 34094-A Thermo Element Height Gage

Removal Procedure

1. Remove the oil pan.




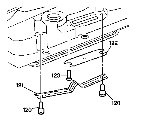
2. Remove the thermo element pins and washers (120 and 123).
3. Remove the thermo element (121) and the thermo element plate (122).

Installation Procedure




1. Use the J 34094-A to set the middle thermo pin (123).
2. Install the new thermo element plate (122).
3. Install the pin and washer (120).
4. Use the J 34094-A to set the height of the pin and washer (120) furthest from the accumulator.
5. Use the J 34094-A to set the height of the second pin and washer (120).




6. Carefully install the thermo element (121) between the two pin and washers (120). The V in the thermo element (121) must contact the thermo element plate (122).
7. Install the oil pan.
8. Refill fluid as necessary. Refer to Approximate Fluid Capacities.