Curiosii for ever!: Car repair manuals for everyone.

Engine Control Module



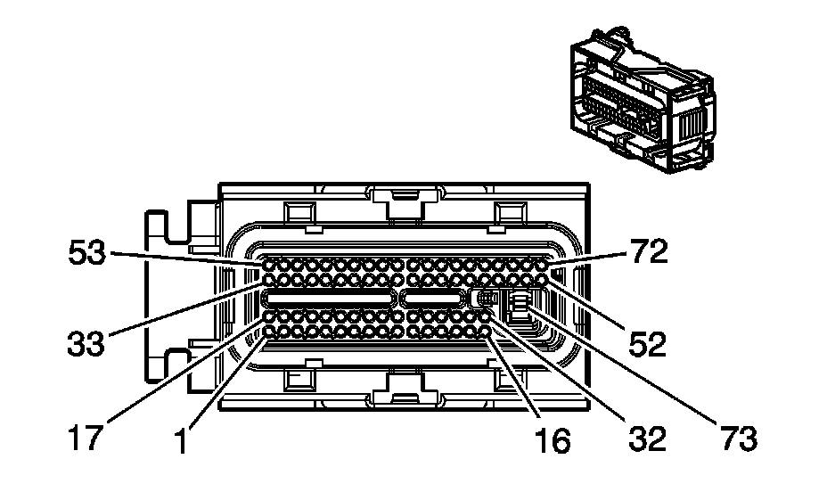
Powertrain Control Module Connector End Views

Powertrain Control Module (PCM) C1














Powertrain Control Module (PCM) C2









Powertrain Control Module (PCM) C2 (Pin 1 To 32):





Powertrain Control Module (PCM) C2 (Pin 33 To 73):






Powertrain Control Module (PCM) C3