Curiosii for ever!
: Car repair manuals for everyone.
Home
>>
Buick Truck
>>
2007
>>
Rendezvous V6-3.5L
>>
Repair and Diagnosis
>>
Diagrams
>>
Connector Views
>>
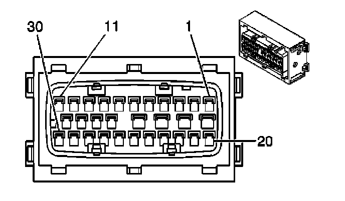
Electronic Brake Control Module
Electronic Brake Control Module
Electronic Brake Control Module
(EBCM)
Electronic Brake Control Module: