Curiosii for ever!: Car repair manuals for everyone.

Thread Repair Specifications



Thread Repair Specifications

Engine Block - Front/Rear Views

Engine Block:








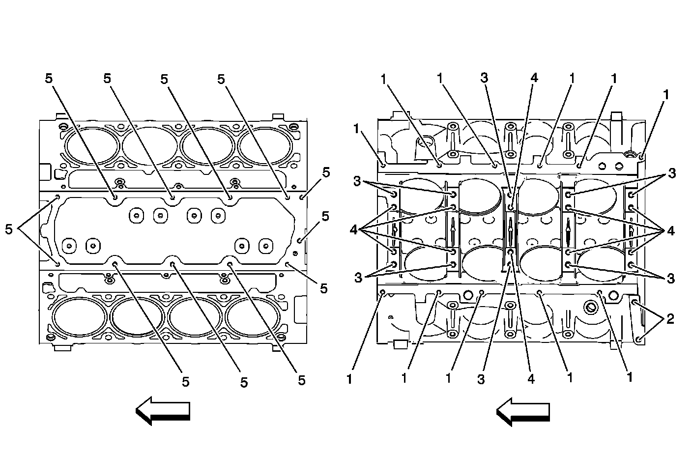
Engine Block - Left/Right Side Views

Engine Block:








Engine Block - Top/Bottom Views

Engine Block:








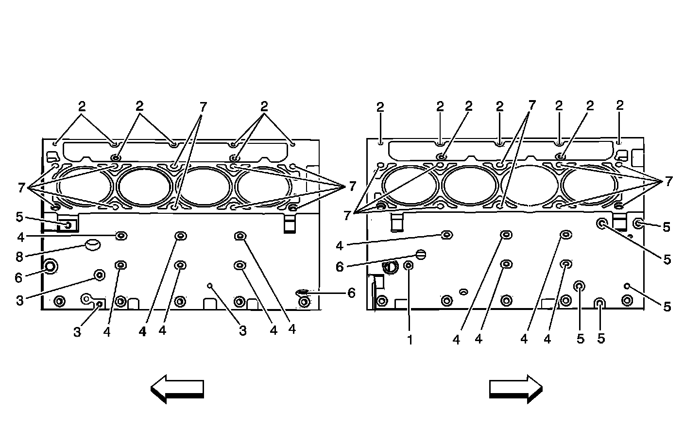
Cylinder Head - Top/End Views

Cylinder Head:








Cylinder Head - Intake/Exhaust Side Views

Cylinder Head: