Curiosii for ever!: Car repair manuals for everyone.

Engine Control Module



Engine Control Module Connector End Views

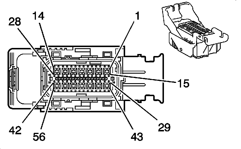
Engine Control Module (ECM) C1









Engine Control Module (ECM) C1 (Pin 1 To 15):





Engine Control Module (ECM) C1 (Pin 16 To 56):






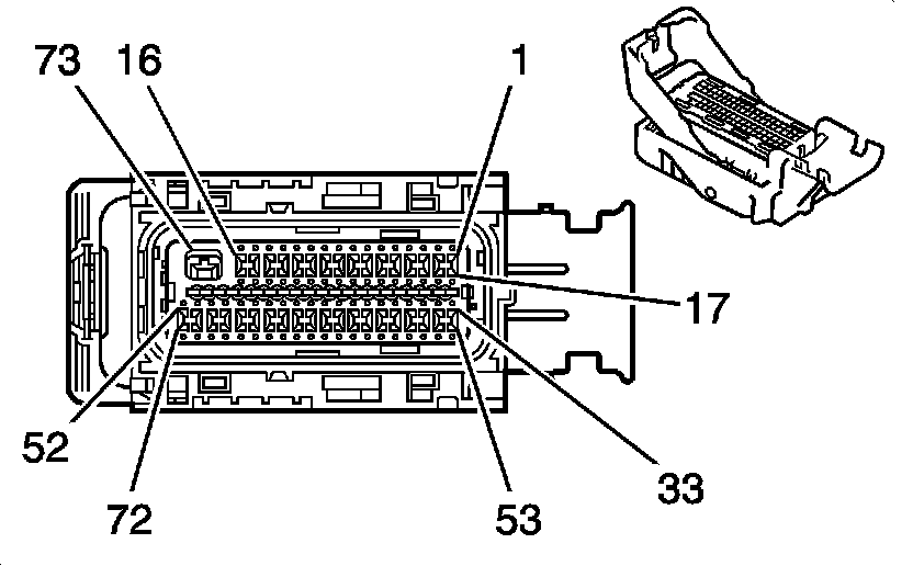
Engine Control Module (ECM) C2









Engine Control Module (ECM) C2 (Pin 1 To 10):





Engine Control Module (ECM) C2 (Pin 11 To 54):





Engine Control Module (ECM) C2 (Pin 55 To 73):






Engine Control Module (ECM) C3









Engine Control Module (ECM) C3 (Pin 1 To 15):





Engine Control Module (ECM) C3 (Pin 16 To 59):





Engine Control Module (ECM) C3 (Pin 60 To 73):