Automatic Transmission/Transaxle
Disassembled Views
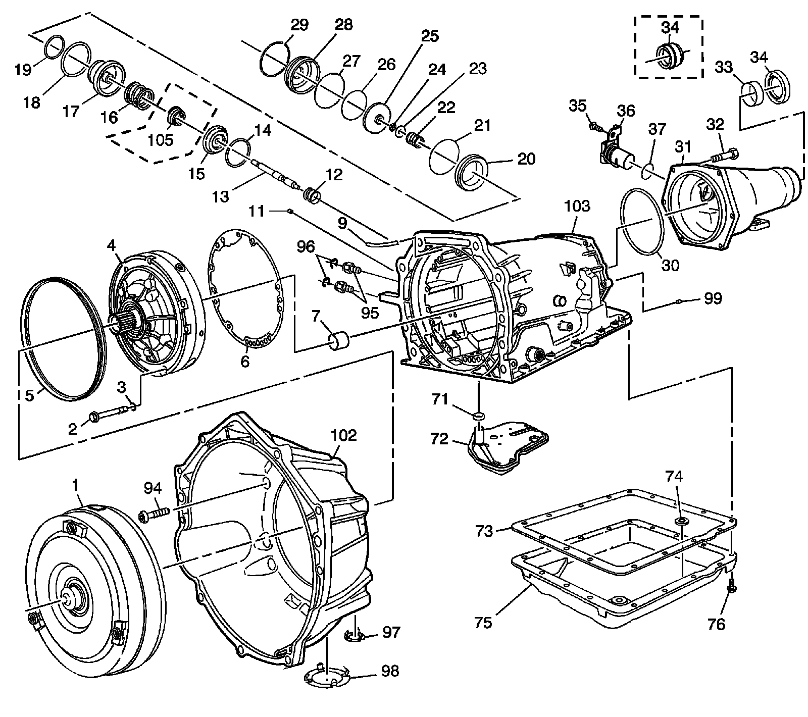
Case and Associated Parts (1 of 2)
Case and Associated Parts:
1 - Torque Converter Assembly - Size Model Dependent
2 - Pump to Case Bolt
3 - Pump to Case Bolt O-Ring
4 - Oil Pump Assembly
5 - A/T Fluid Pump Seal - Pump to Case
6 - Pump Cover to Case Gasket
7 - Case Bushing
9 - Transmission Vent Assembly
11 - Case Servo Plug
12 - Servo Return Spring
13 - 2nd Apply Piston Pin
14 - Retainer Ring - 2nd Apply Piston
15 - Servo Cushion Spring Retainer
16 - Servo Cushion Spring - Outer
17 - 2nd Apply Piston
18 - Oil Seal Ring - 2nd Apply Piston - Outer
19 - Oil Seal Ring - 2nd Apply Piston - Inner
20 - Servo Piston Housing - Inner
21 - O-Ring Seal
22 - Servo Apply Pin Spring
23 - Servo Apply Pin Washer
24 - Retainer Ring - Apply Pin
25 - 4th Apply Piston
26 - Oil Seal Ring - 4th Apply Piston - Outer
27 - O-Ring Seal - 2-4 Servo Cover
28 - 2-4 Servo Cover
29 - Servo Cover Retaining Ring
30 - Case Extension to Case Seal
31 - Case Extension - Model Dependent
32 - Case Extension to Case Bolt
33 - Case Extension Bushing
34 - Case Extension Oil Seal Assembly - Model Dependent
34 - Case Extension Oil Seal Assembly - Model Dependent
35 - Speed Sensor Retaining Bolt
36 - Vehicle Speed Sensor (VSS)
37 - O-Ring Seal - VSS to Case Extension
71 - Filter Seal
72 - Transmission Oil Filter Assembly - Model Dependent
73 - Transmission Oil Pan Gasket
74 - Chip Collector Magnet
75 - Transmission Oil Pan - Model Dependent
76 - Transmission Oil Pan Screw
94 - Converter Housing to Case Bolt
95 - Oil Cooler Quick Connector
96 - Oil Cooler Quick Connect Clip
97 - Converter Housing Access Hole Plug - Model Dependent
98 - Converter Bolt Inspection Plate - Model Dependent
99 - Cup D4 Orifice Plug
102 - Converter Housing - Model Dependent
103 - Main Section Case - Model Dependent
105 - Servo Cushion Spring - Inner - Model Dependent
Case and Associated Parts (2 of 2) - M30/M32/M70
Case and Associated Parts - M30/M32/M70:
38 - Transmission Case Plug - Accumulator Bleed
39 - Pressure Plug
40 - Third Accumulator (#7) Retainer and Ball Assembly
41 - Band Anchor Pin
42 - Retainer and Ball Assembly - Double Orifice (#10)
43 - Accumulator Piston Pin
44 - 3-4 Accumulator Piston
45 - Oil Seal Ring - 3-4 Accumulator Piston
46 - 3-4 Accumulator Spring - Model Dependent
47 - Spacer Plate to Case Gasket
48 - Valve Body Spacer Plate
48 - Valve Body Spacer Plate w/Gasket - Bonded - Model Dependent
49 - Shift Solenoids Screen
50 - Pressure Control Solenoid Screen
52 - Spacer Plate to Valve Body Gasket
53 - Spacer Plate Support Plate
54 - 1-2 Accumulator Spring - Outer - Model Dependent
55 - Oil Seal Ring - 1-2 Accumulator
56 - 1-2 Accumulator Piston
57 - 1-2 Accumulator Cover and Pin Assembly - Model Dependent
58 - Accumulator Cover Bolt
59 - Accumulator Cover Bolt
60 - Control Body Valve Assembly - Model Dependent
61 - Checkball (#2, 3, 4, 5, 6, 8, 12)
62 - Valve Body Bolt
63 - Manual Detent Spring Assembly
64 - Manual Detent Spring Bolt
65 - Wiring Harness Pass-Through Connector O-Ring Seal
66 - Wiring Harness Solenoid Assembly - Model Dependent
67 - O-Ring Seal - Solenoid
68 - Hex Washer Head Bolt - Solenoid
69 - Transmission Fluid Pressure Manual Valve Position Switch Assembly
70 - Pressure Switch Assembly Bolt
77 - Spacer Plate Support Bolt
77 - Spacer Plate Support Bolt
91 - Number 1 Checkball
103 - Main Section Case - Model Dependent
104 - 1-2 Accumulator Spring - Inner
Oil Pump Assembly
Oil Pump Assembly:
200 - Pump Body
201 - Oil Seal Ring - Slide to Wear Plate
202 - O-Ring Seal - Slide Seal Back-Up
203 - Pump Slide
204 - Pivot Pin Spring
205 - Pivot Slide Pin
208 - Pump Slide Seal Support
209 - Pump Slide Seal
210 - Pump Vane Ring
210 - Pump Vane Ring
211 - Rotor Guide
212 - Oil Pump Rotor
213 - Pump Vane
214 - Stator Shaft
215 - Pump Cover
216 - Pressure Regulator Valve
217 - Pressure Regulator Valve Spring
218 - Pressure Regulator Isolator Spring
219 - Reverse Boost Valve
220 - Reverse Boost Valve Sleeve
221 - Oil Pump Reverse Boost Valve Retaining Ring
222 - Oil Pump Converter Clutch Valve Retaining Ring
223 - Stop Valve
224 - Converter Clutch Valve - Model Dependent
227 - Pressure Relief Bolt Rivet
228 - Pressure Relief Ball
229 - Pressure Relief Spring
230 - Oil Seal Ring - Stator Shaft
231 - Oil Pump Cover Screen Seal
232 - Oil Pump Cover Screen
233 - Bolt M8 X 1.25 X 40 - Cover to Body
234 - Stator Shaft Bushing - Front
235 - Oil Pump Cover Plug - FWD Clutch Feed
236 - Oil Pump Cover Plug
236 - Oil Pump Cover Plug
236 - Oil Pump Cover Plug
236 - Oil Pump Cover Plug
236 - Oil Pump Cover Plug
236 - Oil Pump Cover Plug
237 - Check Valve Retainer and Ball Assembly
237 - Check Valve Retainer and Ball Assembly
238 - Converter Clutch Signal Orifice - Cup Plug
240 - Cup Orifice Plug
241 - Stator Shaft Bushing - Rear
242 - Pump Body Bushing
243 - Oil Seal Assembly
244 - Fluid Seal Retainer
245 - A/T Fluid Pump Slide Outer Spring
246 - Converter Clutch Valve Spring
247 - A/T ISS Attaching Bolt - Model Dependent
248 - A/T ISS Hole Plug - Model Dependent
249 - O-ring - Model Dependent
249 - O-ring - Model Dependent
250 - A/T Input Speed Sensor (ISS) Assembly - Model Dependent
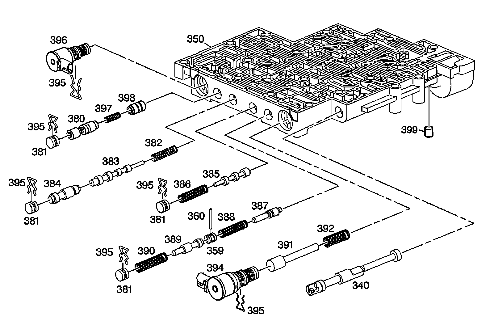
Control Valve Body Assembly (1 of 2)
Control Valve Body Assembly:
350 - Control Valve Body Assembly
353 - Forward Accumulator Oil Seal
354 - Forward Accumulator Piston
355 - Forward Accumulator Pin
356 - Forward Accumulator Spring
357 - Forward Abuse Valve
358 - Forward Abuse Valve Spring
359 - Bore Plug
360 - Coiled Spring Pin
360 - Coiled Spring Pin
361 - Low Overrun Valve
362 - Low Overrun Valve Spring
363 - Forward Accumulator Cover
364 - Forward Accumulator Cover Bolt
364a - Pressure Control Solenoid Retainer Bolt
365 - 1-2 Shift Valve Spring - Model Dependent
366 - 1-2 Shift Valve - Model Dependent
367a - 1-2 Shift Solenoid Valve
367b - 2-3 Shift Solenoid Valve
368 - 2-3 Shift Valve
369 - 2-3 Shuttle Valve
370 - 1-2 Accumulator Valve Spring
371 - 1-2 Accumulator Valve
372 - 1-2 Accumulator Valve Sleeve
374 - Actuator Feed Limit Valve
375 - Actuator Feed Limit Valve Spring
376 - Bore Plug
377 - Pressure Control Solenoid Valve
378 - Pressure Control Solenoid Retainer
395 - Bore Plug and Solenoid Retainer
395 - Bore Plug and Solenoid Retainer
395 - Bore Plug and Solenoid Retainer
Control Valve Body Assembly (2 of 2)
Control Valve Body Assembly:
340 - Manual Valve
350 - Control Valve Body Assembly
359 - Bore Plug
360 - Coiled Spring Pin
380 - Regulator Apply Valve
381 - Bore Plug
381 - Bore Plug
381 - Bore Plug
381 - Bore Plug
382 - 4-3 Sequence Valve Spring
383 - 4-3 Sequence Valve
384 - 3-4 Relay Valve
385 - 3-4 Shift Valve
386 - 3-4 Shift Valve Spring
387 - Reverse Abuse Valve
388 - Reverse Abuse Valve Spring
389 - 3-2 Downshift Valve
390 - 3-2 Downshift Valve Spring
391 - 3-2 Control Valve
392 - 3-2 Control Valve Spring
394 - 3-2 Control Solenoid Valve
395 - Bore Plug and Solenoid Retainer
395 - Bore Plug and Solenoid Retainer
395 - Bore Plug and Solenoid Retainer
395 - Bore Plug and Solenoid Retainer
395 - Bore Plug and Solenoid Retainer
395 - Bore Plug and Solenoid Retainer
396 - TCC PWM Solenoid Valve
397 - Regulator Apply Spring
398 - Isolator Valve
399 - Pump Ball Check Valve - M33 Only
Internal Parts (1 of 2)
Internal Parts:
600 - 3-4 Clutch Boost (5) Spring Assembly
601 - Thrust Washer - Pump to Drum
602 - 2-4 Band Assembly - Model Dependent
603 - Reverse Input Clutch Bushing - Front
605 - Reverse Input Clutch Housing and Drum Assembly
606 - Reverse Input Clutch Bushing - Rear
607 - Reverse Input Clutch Piston Assembly
608a - Reverse Input Clutch Seal - Inner
608b - Reverse Input Clutch Seal - Outer
609 - Reverse Input Clutch Spring Assembly
610 - Reverse Input Clutch Spring Retainer Ring
611 - Reverse Input Clutch Plate - Belleville
612a - Reverse Input Clutch Turbulator Plate - Steel
612b - Reverse Input Clutch Plate Assembly - Fiber
613 - Reverse Input Clutch Backing Plate - Selective
614 - Reverse Input Clutch Retaining Ring
615 - Stator Shaft/Selective Washer Bearing Assembly
616 - Thrust Washer - Selective
617 - Check Valve Retainer and Ball Assembly
618 - O-Ring Seal - Location Model Dependent
619 - Oil Seal Ring - Solid
620 - Retainer and Checkball Assembly
621 - Input Housing and Shaft Assembly - Model Dependent
622 - O-Ring Input to Forward Clutch Housing Seal
623 - 3rd and 4th Clutch Piston
625 - 3rd and 4th Clutch Ring - Apply
626 - 3rd and 4th Clutch Spring Assembly
627 - Forward Clutch Housing Retainer and Ball Assembly
628 - Forward Clutch Housing
630 - Forward Clutch Piston
632 - Overrun Clutch Piston
633 - Overrun Clutch Ball
634 - Overrun Clutch Spring Assembly
635 - Overrun Clutch Spring Retainer Snap Ring
636 - Input Housing to Output Shaft Seal
637 - Input Sun Gear Bearing Assembly
638 - Overrun Clutch Hub Retaining Snap Ring
639 - Overrun Clutch Hub
640 - Forward Sprag Clutch Inner Race and Input Sun Gear Assembly
642 - Forward Sprag Assembly
643 - Sprag Assembly Retainer Ring
643 - Sprag Assembly Retainer Ring
644 - Forward Clutch Race - Outer
645a - Overrun Clutch Plate - Steel
645b - Overrun Clutch Plate Assembly - Fiber
646 - Forward Clutch Plate - Apply
648 - Forward Clutch Plate - Waved
649a - Forward Clutch Plate - Steel
649b - Forward Clutch Plate Assembly - Fiber
650 - Forward Clutch Backing Plate - Selective
651 - Forward Clutch Backing Plate Retainer Ring
653 - 3rd and 4th Clutch Apply Plate - Stepped
653 - 3rd and 4th Clutch Apply Plate - Stepped
653 - 3rd and 4th Clutch Apply Plate - Stepped
654a - 3rd and 4th Clutch Plate Assembly - Fiber - Quantity Model Dependent 5, 6 or 7 Plates
654a - 3rd and 4th Clutch Plate Assembly - Fiber - Quantity Model Dependent 5, 6 or 7 plates
654a - 3rd and 4th Clutch Plate Assembly - Fiber - Quantity Model Dependent 5, 6 or 7 plates
654b - 3rd and 4th Clutch Plate - Steel - Quantity Model Dependent
654b - 3rd and 4th Clutch Plate - Steel - Quantity Model Dependent
654b - 3rd and 4th Clutch Plate - Steel - Quantity Model Dependent
655 - 3rd and 4th Clutch Backing Plate - Selective - Model Dependent
655 - 3rd and 4th Clutch Backing Plate - Selective - Model Dependent
655 - 3rd and 4th Clutch Backing Plate - Selective - Model Dependent
656 - 3rd and 4th Clutch Backing Plate Retainer Ring
657 - Input Sun Gear Front Bushing
659 - Input Sun Gear Rear Bushing
688 - Cup Plug
698 - Orificed Cup Plug
Internal Parts (2 of 2)
Internal Parts:
661 - Output Shaft to Input Carrier Retainer
662 - Input Carrier Assembly - 4 or 5 Pinion-Model Dependent
662 - Input Carrier Assembly
663 - Thrust Bearing Assembly - Input Carrier to Reaction Shaft
664 - Input Internal Gear
665 - Reaction Carrier Shaft Front Bushing
666 - Reaction Carrier Shaft
667 - Reaction Carrier Shaft Rear Bushing
668 - Reaction Shaft/Internal Gear Retainer Ring
669 - Thrust Bearing Assembly - Reaction Shaft Shell
670 - Reaction Sun Shell
671 - Reaction Sun Gear Retainer Ring
672 - Reaction Sun Bushing
673 - Reaction Sun Gear
674 - Thrust Washer - Race/Reaction Shell
675 - Low and Reverse Roller Clutch Race
676 - Low and Reverse Support to Case Retainer Ring
677 - Low and Reverse Roller Assembly Retainer Ring - Cam
677 - Low and Reverse Roller Assembly Retainer Ring - Cam
678 - Low and Reverse Roller Clutch Assembly
679 - Low and Reverse Clutch Support Assembly
680 - Low and Reverse Clutch Support Retainer Spring
681 - Reaction Carrier Assembly - 4 or 5 Pinion-Model Dependent
681 - Reaction Carrier Assembly - 4 or 5 Pinion-Model Dependent
682a - Low and Reverse Clutch Plate - Waved
682b - Spacer Low and Reverse Clutch Plate - Selective
682c - Low and Reverse Clutch Plate Assembly - Fiber
682d - Low and Reverse Clutch Turbulator Plate - Steel
683 - Thrust Bearing Assembly - Reaction Carrier/Support
684 - Internal Reaction Gear - Model Dependent
685 - Internal Reaction Gear Support - Model Dependent
686 - Reaction Gear/Support Retainer Ring
687 - Output Shaft - Model Dependent
690 - Output Shaft Sleeve - Model Dependent 2WD only
691 - Output Shaft Seal - Model Dependent 2WD only
692 - Reaction Gear Support to Case Bearing
693 - Low and Reverse Clutch Retainer Ring
694 - Low and Reverse Clutch Spring Assembly
695 - Low and Reverse Clutch Piston
696a - Low and Reverse Clutch Seal - Outer
696b - Low and Reverse Clutch Seal - Center
696c - Low and Reverse Clutch Seal - Inner
697 - Oil Deflector - High Output Models Only
699 - Internal Transmission Speed Sensor Rotor
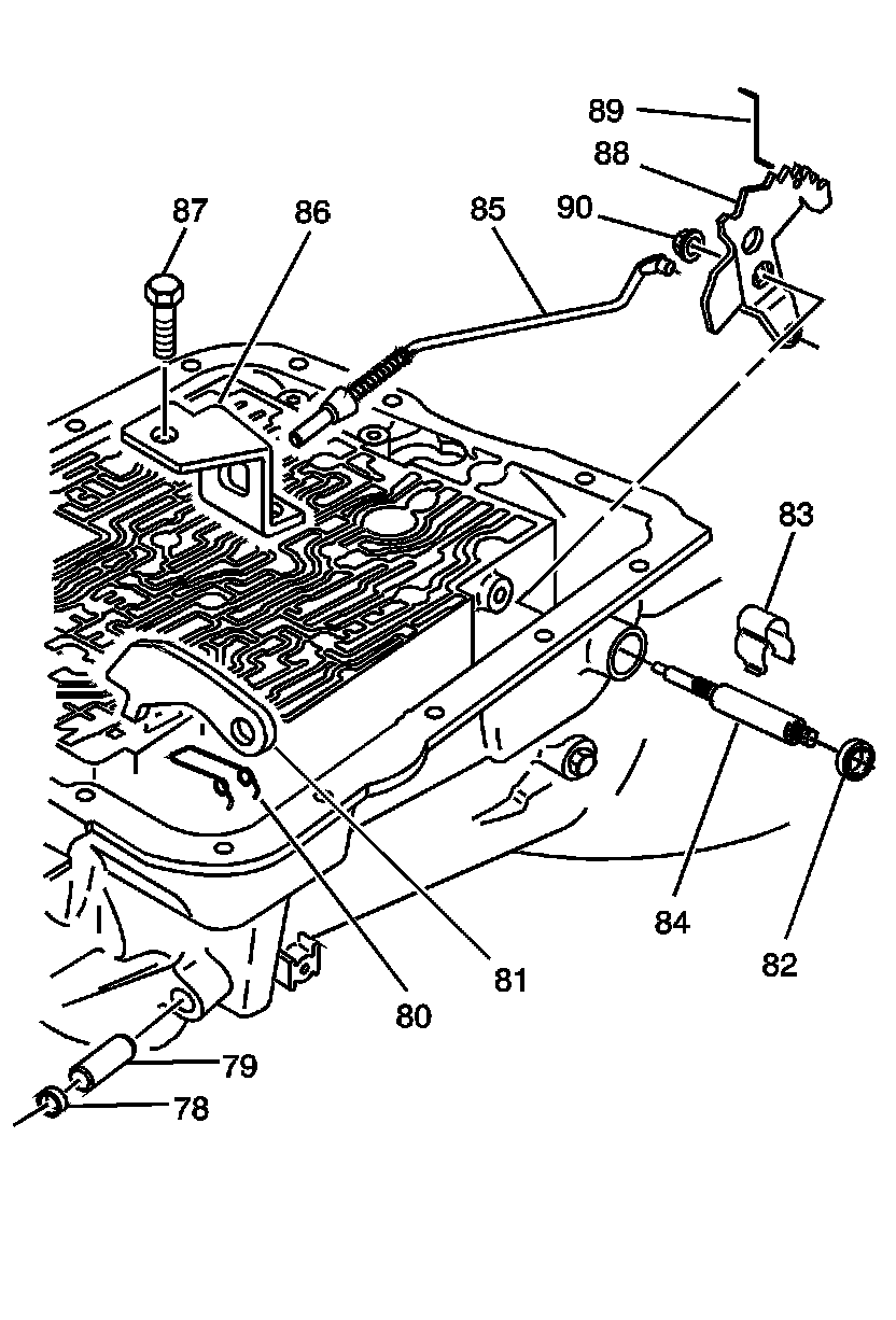
Parking Lock and Manual Shift Shaft Assembly
Parking Lock and Manual Shift Shaft Assembly:
78 - Steel Cup Plug
79 - Parking Brake Pawl Shaft
80 - Parking Pawl Return Spring
81 - Parking Brake Pawl
82 - Manual Shaft Seal
83 - Manual Shaft Retainer
84 - Manual Shaft - Model Dependent
85 - Parking Lock Actuator Assembly
86 - Parking Lock Bracket
87 - Parking Lock Bracket Bolt
88 - Inside Detent Lever
89 - Manual Valve Link
90 - Hex Head Nut