Curiosii for ever!: Car repair manuals for everyone.

Engine Control Module



Powertrain Control Module Connector End Views

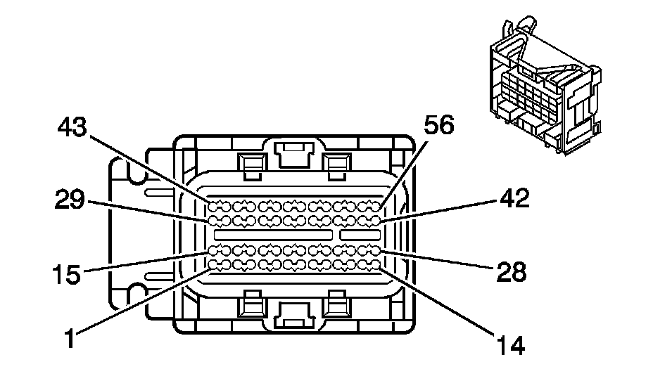
Powertrain Control Module (PCM) C1









Powertrain Control Module (PCM) C1 (Pin 1 To 24):





Powertrain Control Module (PCM) C1 (Pin 25 To 56):






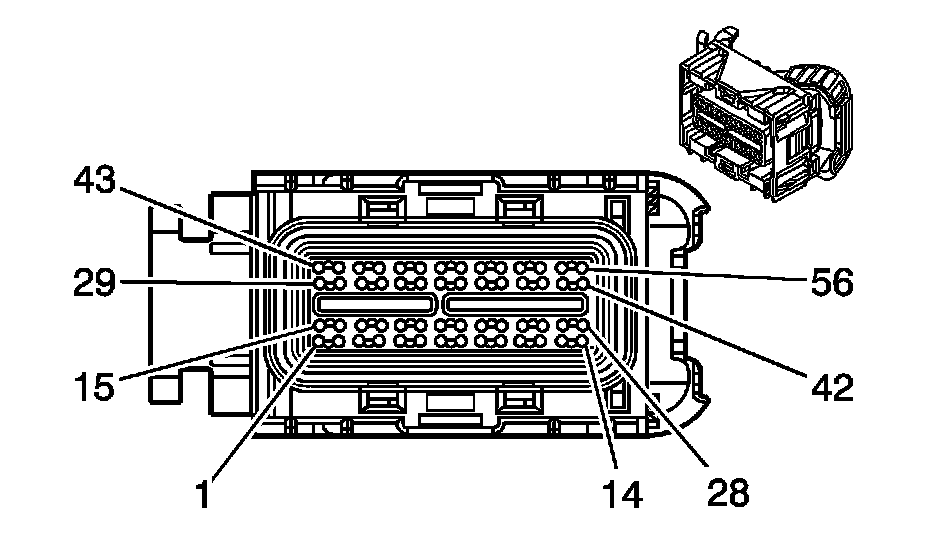
Powertrain Control Module (PCM) C2









Powertrain Control Module (PCM) C2 (Pin 1 To 14):





Powertrain Control Module (PCM) C2 (Pin 15 To 54):





Powertrain Control Module (PCM) C2 (Pin 55 To 73):






Powertrain Control Module (PCM) C3









Powertrain Control Module (PCM) C3 (Pin 1 To 20):





Powertrain Control Module (PCM) C3 (Pin 21 To 56):