Curiosii for ever!: Car repair manuals for everyone.

Alignment: Service and Repair



Measuring Wheel Alignment
Steering and vibration complaints are not always the result of improper alignment. One possible cause is wheel and tire imbalance. Another possibility is tire lead due to worn or improperly manufactured tires. Lead/pull is defined as follows: At a constant highway speed on a typical straight road, lead/pull is the amount of effort required at the steering wheel to maintain the vehicle's straight path. Lead is the vehicle deviation from a straight path on a level road without pressure on the steering wheel. Refer to Radial Tire Lead/Pull Correction in Tires and Wheels in order to determine if the vehicle has a tire lead problem.

Before performing any adjustment affecting wheel alignment, perform the following inspections and adjustments in order to ensure correct alignment readings:
^ Inspect the tires for the proper inflation and irregular tire wear.
^ Inspect the runout of the wheels and the tires.
^ Inspect the wheel bearings for backlash and excessive play.
^ Inspect the ball joints and tie rod ends for looseness or wear.
^ Inspect the control arms and stabilizer shaft for looseness or wear.
^ Inspect the steering gear for looseness at the frame.
^ Inspect the struts/shock absorbers for wear, leaks, and any noticeable noises.
^ Inspect the vehicle trim height.
^ Inspect the steering wheel for excessive drag or poor return due to stiff or rusted linkage or suspension components.
^ Inspect the fuel level. The fuel tank should be full or the vehicle should have a compensating load added.

Give consideration to excess loads, such as tool boxes, sample cases, etc. If normally carried in the vehicle, these items should remain in the vehicle during alignment adjustments. Give consideration also to the condition of the equipment being used for the alignment. Follow the equipment manufacturer's instructions.

Satisfactory vehicle operation may occur over a wide range of alignment settings. However, if the setting exceeds the service allowable specifications, correct the alignment to the service preferred specifications.

Perform the following steps in order to measure the front and rear alignment angles:

1. Install the alignment equipment according to the manufacturer's instructions.
2. Jounce the front and the rear bumpers 3 times prior to checking the wheel alignment.
3. Measure the alignment angles and record the readings.

Important: When performing adjustments to vehicles requiring a 4-wheel alignment, set the rear wheel alignment angles first in order to obtain proper front alignment angles.

4. Adjust alignment angles to vehicle specification, if necessary.



Front Camber Adjustment
1. Raise and support the vehicle. Refer to Vehicle Lifting.
2. Remove the tire and wheel.





3. Remove the strut lower bolt in order to inspect for an oblong strut lower hole (3). If the strut lower hole is oblong, loosen the strut upper bolt in order to allow for camber adjustment. If the strut lower hole is NOT oblong, perform the following steps:
1. Remove the strut from the vehicle.
2. Secure the strut in a vise.
3. File the strut lower hole laterally (3) in order to allow for camber adjustment.
4. Install the strut to the vehicle.
5. Install the strut bolts.

Notice: Refer to Fastener Notice in Service Precautions.

6. Adjust the camber.
^ Tighten the strut lower nuts to 123 Nm (90 ft. lbs.).
5. Install the tire and wheel.
6. Lower the vehicle.



Front Toe Adjustment
1. Remove the power steering gear seal small clamps.
2. Verify that the steering wheel is centered and the wheels are in the straight ahead position.





3. Loosen the left and right tie rod jam nuts (2).

Important: Verify that the number of threads showing on both inner tie rod ends are approximately equal.

4. Rotate the inner tie rods in order to obtain the proper toe angle of 0 degrees.

Notice: Refer to Fastener Notice in Service Precautions.

5. Tighten the tie rod end jam nuts.
^ Tighten the left and right tie rod jam nuts (2) to 68 Nm (50 ft. lbs.).

Important: Verify that the power steering gear seal is not twisted.

6. Install the power steering gear seal small clamps.



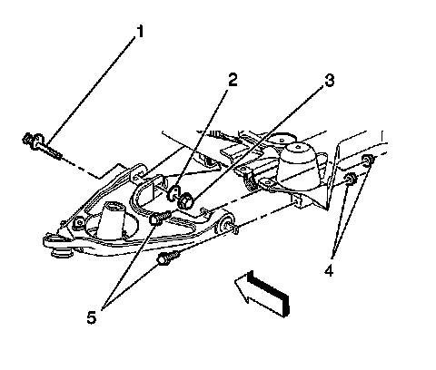
Rear Camber Adjustment
Removal Procedure
1. Place vehicle on alignment machine with rear wheels supported by Weaver plates.





2. Loosen rear lower control arm mounting nuts (3, 4)
3. Adjust camber with cam bolt (1).
4. Confirm correct camber value.
5. Check toe alignment and adjust if required.

Installation Procedure





Notice: Refer to Fastener Notice in Service Precautions.

1. Tighten the lower control arm mounting nuts (3, 4).
^ Tighten the nut (3) to 125 Nm (107 ft. lbs.).
^ Tighten the nut (4) to 50 Nm (37 ft. lbs.).
2. Test drive the vehicle.



Rear Toe Adjustment





Important: Make any adjustments to camber before setting toe.

1. Loosen the jam nut (6) at the rear wheel tie rod.
2. Adjust the toe to the proper setting by turning the inner link adjustment hex (4).

Notice: Refer to Fastener Notice in Service Precautions.

3. When the toe adjustment is correct, tighten the jam nut.
^ Tighten the nut to 62 Nm (45 ft. lbs.).
4. Recheck the toe alignment.