Curiosii for ever!: Car repair manuals for everyone.

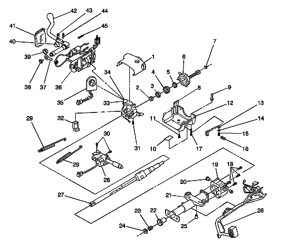
Steering Column



Steering Column Disassembled View

Steering Column Disassembled View (Rendezvous/257):





1 - Upper Trim Cover
2 - Upper Bearing
3 - Upper Bearing Seat
4 - Steering Shaft Upper Bearing Spring
5 - Bearing Retainer
6 - Inflatable Restraint Steering Wheel Module Coil
7 - Steering Wheel Nut
8 - Trim Cover Protector
9 - Sleeve
10 - Cover, Housing Trim Extension
11 - Lower Trim Cover Screws
12 - Lower Trim Cover
13 - Tilt Lever
14 - Tilt Lever Spring
15 - Tilt Lever Bolt
16 - Tilt Lever Spring
17 - Lower Trim Cover Screw
18 - Lower Tilt Head Mounting Bolts
19 - Lower Tilt Head
20 - Tilt Head Pivot Pins
21 - Steering Column Jacket Assembly
22 - Adapter and Bearing Assembly
23 - Lower Bearing Seat
24 - Lower Bearing Retainer
25 - Wire Harness Retainer
26 - Wire Harness Assembly
27 - Shaft Assembly
28 - Multifunction Switch
29 - Tilt Head Springs
30 - Multifunction Switch Screws
31 - Trim Cover Screw
32 - Ignition Switch
33 - Ignition Key Alarm
34 - Upper Tilt Head
35 - Theft Deterrent Module
36 - Control Assembly
37 - Shift Lever Pivot Pin
38 - Pivot Pin Bolt
39 - Lower Shift Lever Bushing
40 - Upper Shift Lever Bushing
41 - Steering Column Boot
42 - Shift Lever
43 - Shift Lever Screw
44 - Shift Lever Pin
45 - Shift Lever Spring