Curiosii for ever!: Car repair manuals for everyone.

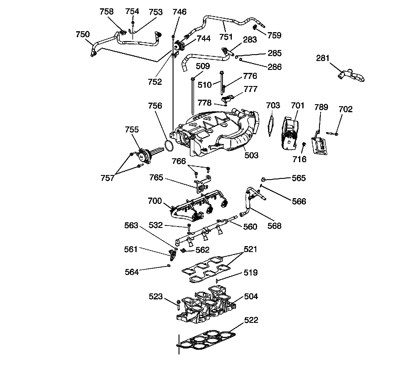
Intake Manifold



Intake Manifold

Intake Manifold:





281 - Clean PCV Hose
283 - Dirty PCV Hose
285 - PCV Hose O-ring Outer/Larger
286 - PCV Hose O-ring Inner/Smaller
503 - Upper Intake Manifold
504 - Lower Intake Manifold
509 - Upper Intake Manifold Bolt - Long
510 - Upper Intake Manifold Bolt - Short
519 - Lower Intake Manifold to Upper Intake Manifold Dowel Pin
521 - Upper Intake Manifold Gasket
522 - Lower Intake Manifold Gasket
523 - Lower Intake Manifold Bolt
532 - Fuel Rail Bolt
560 - Fuel Rail
561 - Fuel Injector
562 - Fuel Injector Retainer
563 - Fuel Injector Upper Seal
564 - Fuel Injector Lower Seal
565 - Fuel Pressure Service Valve Cap
566 - Fuel Pressure Service Valve
568 - Fuel Rail Feed Hose
700 - Fuel Injector Wiring Harness
701 - Throttle Body
702 - Throttle Body Bolt
703 - Throttle Body Gasket
716 - Throttle Body Engine Wiring Harness Clip
744 - EVAP Purge Solenoid
746 - EVAP Purge Solenoid Bolt
750 - EVAP Purge Solenoid Tube - Intake Manifold to EVAP Solenoid
751 - EVAP Purge Solenoid Tube - EVAP Solenoid to Chassis
752 - EVAP Purge Solenoid Bracket
753 - EVAP Purge Solenoid Tube Bracket
754 - EVAP Purge Solenoid Tube Bracket Bolt
755 - Intake Manifold Tuning Valve
756 - Intake Manifold Tuning Valve O-ring
757 - Intake Manifold Tuning Valve Bolt
758 - EVAP Purge Solenoid Tube Clip
759 - EVAP Purge Solenoid Tube Clip
765 - Fuel Injector Wiring Harness Bracket
766 - Fuel Injector Wiring Harness Bracket Bolt
776 - BARO Sensor Bolt
777 - BARO Sensor
778 - BARO Sensor O-ring
789 - Throttle Body Heat Shield