Curiosii for ever!: Car repair manuals for everyone.

Thread Repair Specifications



Thread Repair Specifications





Engine Block:





Engine Block - Front/Rear Views





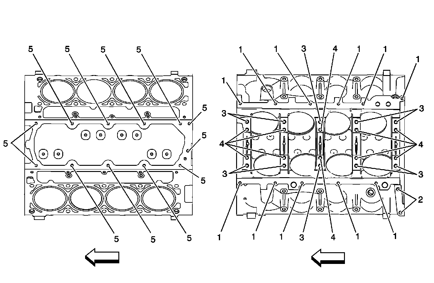
Engine Block:





Engine Block - Left/Right Side Views





Engine Block:





Engine Block - Top/Bottom Views





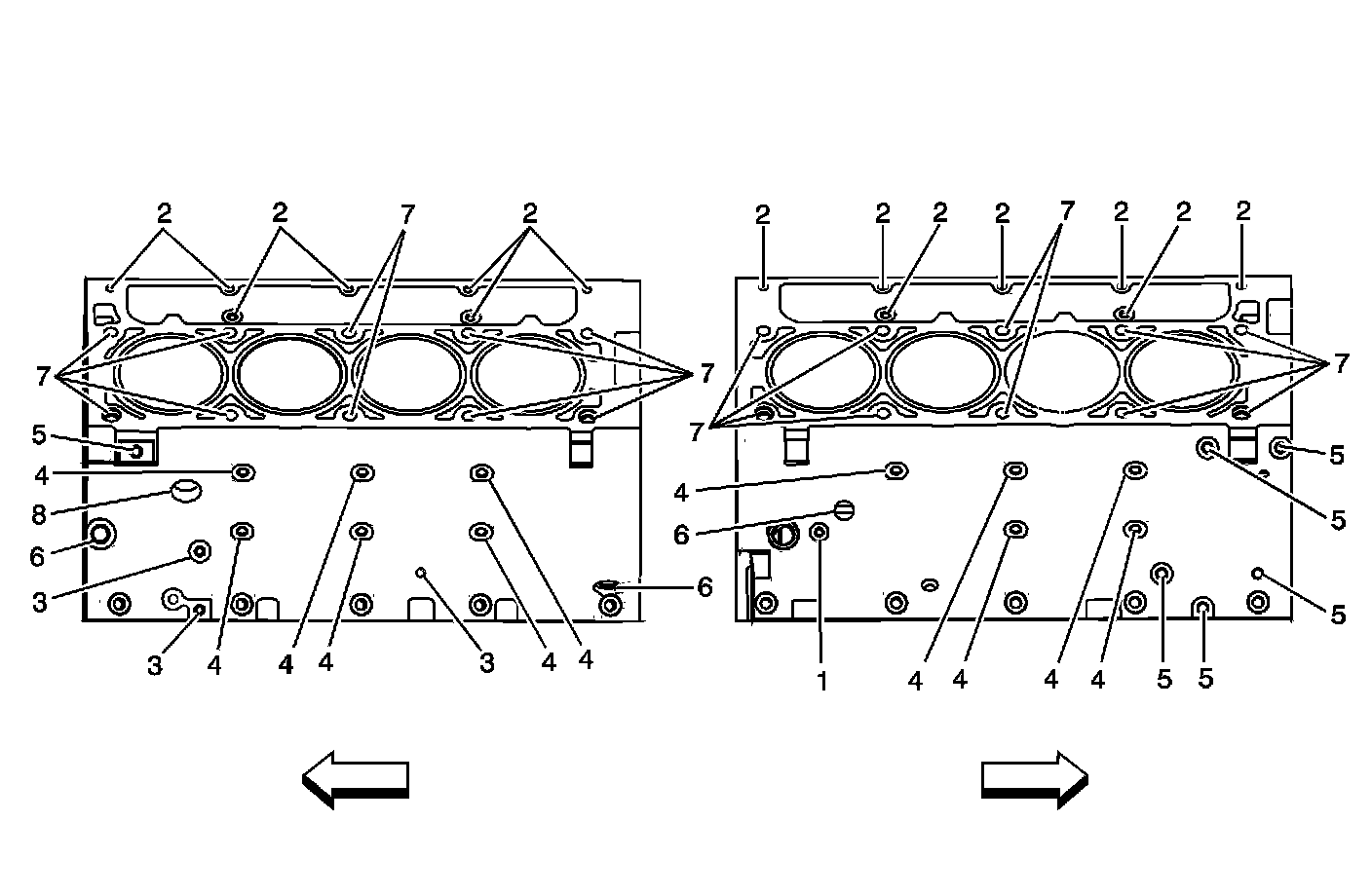
Cylinder Head:





Cylinder Head - Top/End Views





Cylinder Head:





Cylinder Head - Intake/Exhaust Side Views