Curiosii for ever!
: Car repair manuals for everyone.
Home
>>
BMW
>>
2012
>>
740Li (F02) L6-3.0L Turbo (N54)
>>
Repair and Diagnosis
>>
Maintenance
>>
Alignment
>>
Service and Repair
>>
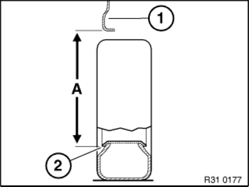
31 33 ... Measuring Vehicle Ride Height
31 33 ... Measuring Vehicle Ride Height
31 33 ... Measuring Vehicle Ride Height
Determine actual ride height (A) - to do so, attach tape measure to rim flange (2) at bottom middle and measure to wheel arch lower edge (1).