Curiosii for ever!
: Car repair manuals for everyone.
Home
>>
BMW
>>
2009
>>
M3 Convertible (E93) V8-4.0L (S65)
>>
Repair and Diagnosis
>>
Diagrams
>>
Electrical Diagrams
>>
Convertible Top Control Module
>>
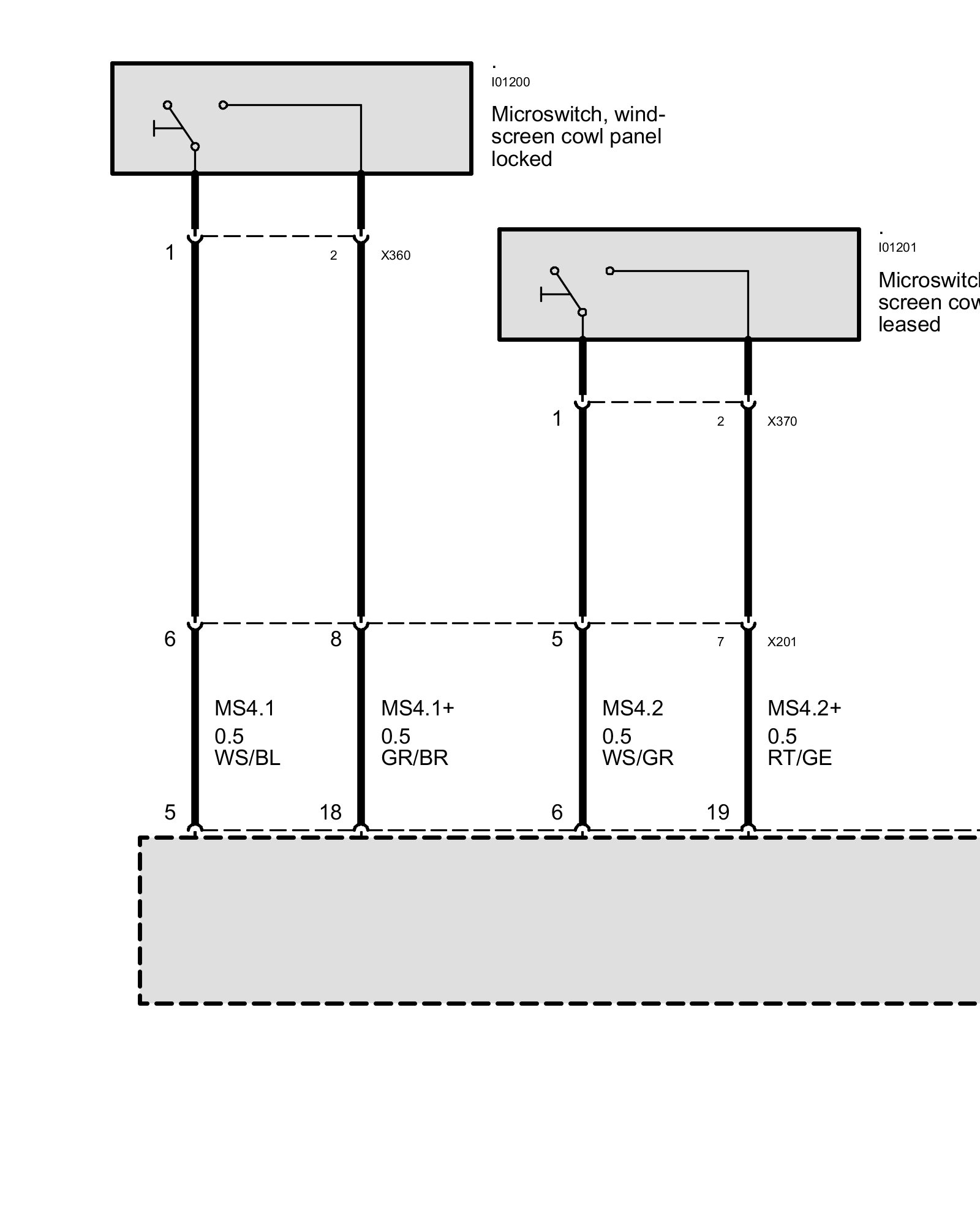
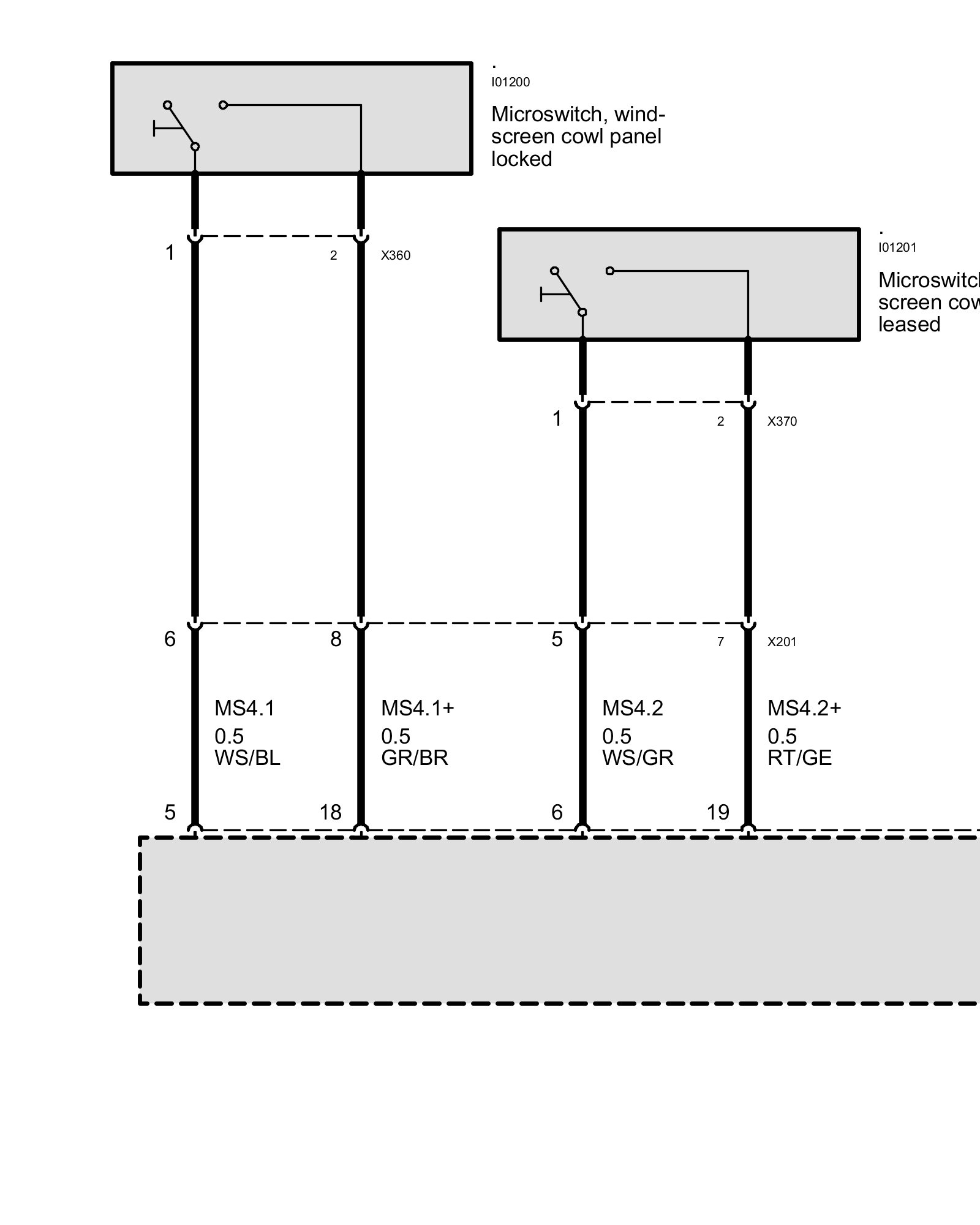
Inputs, Retractable Hardtop
Inputs, Retractable Hardtop
Inputs, Retractable Hardtop
Up to 09/08
As of 09/08