Curiosii for ever!
: Car repair manuals for everyone.
Home
>>
BMW
>>
2008
>>
M6 Convertible (E64) V10-5.0L (S85)
>>
Repair and Diagnosis
>>
Diagrams
>>
Electrical Diagrams
>>
Body
>>
Lighting
>>
Directional Headlight/Beam Height Control (AHL Adaptive Directional Headlights Without LM2 Light Module 2 W/ Adaptive Headligh
>>
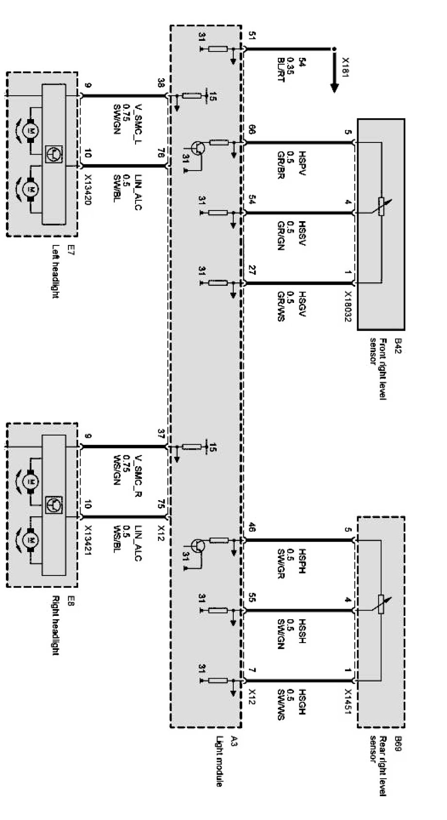
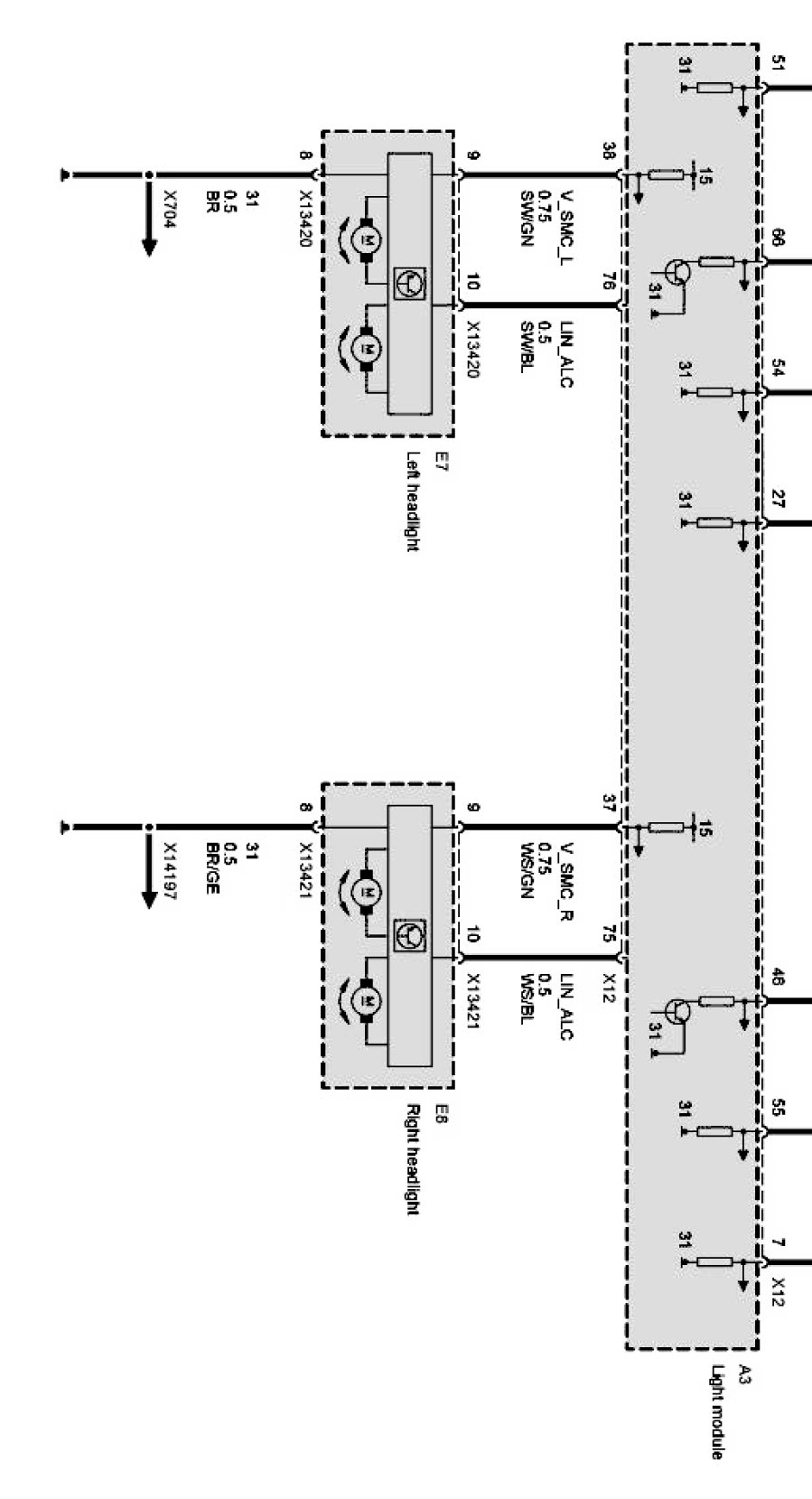
Adaptive Headlight (6 Series With LM2 Light Module 2 With Adaptive Headlight)
Adaptive Headlight (6 Series With LM2 Light Module 2 With Adaptive Headlight)