Curiosii for ever!: Car repair manuals for everyone.

Rough Setting Of ACC2 Sensor




Rough Setting Of ACC2 Sensor

Important
With a new radar sensor (ACC2 or long range sensor LRR Long Range Radar as of 03/2007), no rough setting is required! The adjusting screws of a new sensor have been set at the factory and must not be changed!

Before installation, check whether the bracket for the sensor is damaged or bent. Damaged brackets must be replaced.

Used radar sensors
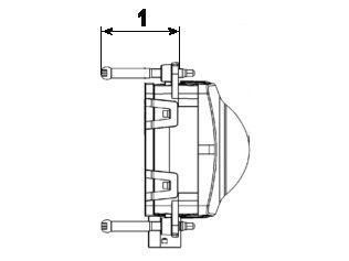
The base dimensions for all 3 screws (adjusting screws and fixed mounts) are specified on the sensor. If the actual dimensions of a used sensor deviate strongly from the specifications, it can occur that no fine calibration of the sensor is possible. In this case, set all 3 screws on the sensor to the specified dimension (dimension 1).






Dimension 1: 43 mm +/- 0.5 mm

After the rough setting, there must be a fine calibration in all cases!