Curiosii for ever!: Car repair manuals for everyone.

Radio-Control Key




Key Transmitter

The key-chain transmitter consists of the mechanical vehicle key, the EWS electronics and a radio transmitter.

A differentiation must be made between two basic versions of key-chain transmitter:
- Up to 9/99, key-chain transmitter with replaceable battery (commercially available lithium battery)
- From 9/99, key-chain transmitter with permanently integrated, rechargeable battery. The rechargeable battery is charged in the vehicle via the EWS loop antenna when inserted in the ignition lock and terminal R is switched on (ignition lock in position 1 or 2).

The various key-chain transmitters and their different versions are illustrated in the following.

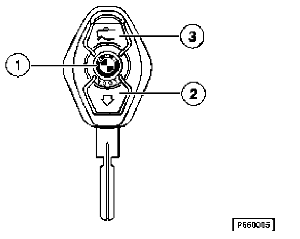
Button assignments







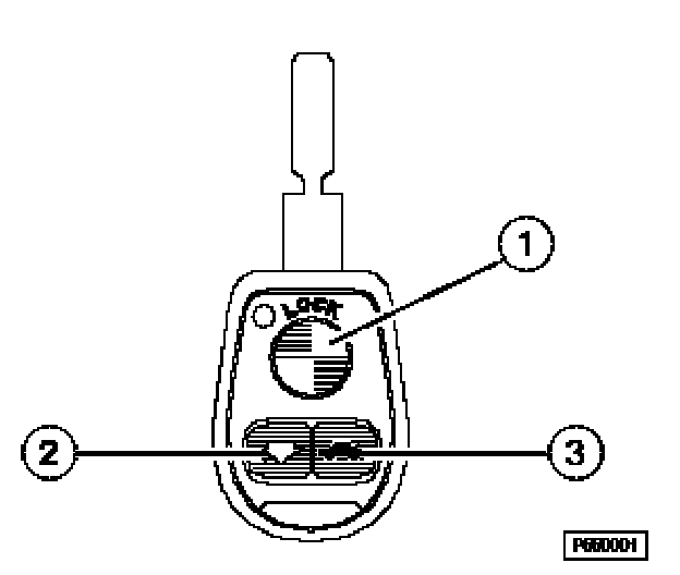
Key-chain transmitter with replaceable battery, 433.92 MHz version







Key-chain transmitter with replaceable battery, 315 MHz version







Key-chain transmitter with rechargeable battery. In appearance, same version for 433 MHz and 315 MHz. The applicable frequency is printed on the back.

Button functions
Depending on how long they are pressed, the three buttons on the key transmitter trigger various actions in the vehicle.
- "Lock" button
Pressed briefly: Lock and arrest central locking and arm DWA.
Button pressed and held: Window and sunroof convenient closing function (codeable)
Pressed briefly with vehicle locked: Switch on interior lights (codeable)

Press briefly twice within 10 seconds with vehicle unlocked: Lock and arrest vehicle, arm DWA and switch off tilt alarm sensor and radio remote interior protection function (function for tilt-ramp garages and vehicle transport).

- "Unlock" button (button with arrow symbol)
Pressed briefly: Release central locking and disarm DWA
Button pressed and held: Window and sunroof convenient opening function (codeable)

- "Tailgate" button (button with vehicle symbol)
Pressed briefly: Open trunk lid
Button pressed and held: Trigger DWA alarm (panic mode) (function codeable).

All radio remote instructions are encoded by means of a constantly changing code in order to prevent tampering in the system.

If transmission of radio remote instructions is disturbed during convenient opening/closing of the power windows, for safety reasons, the function is terminated immediately in the vehicle. The corresponding button on the key transmitter must be released and then pressed again in order to resume convenient mode functions.

The remote control function is deactivated in the general module when the vehicle key is inserted in the ignition lock in order to avoid remote control command functions being activated after unintentionally pressing the remote buttons. The general module receives the "key inserted" message from the EWS control unit.

Function indicator (key-chain transmitter with battery only)
A red LED indicates the function and battery status in the radio transmitter is integrated in the housing of key-chain transmitters up to 9/99.
- The LED indicates that the voltage is OK and a radio telegram has been transmitted by lighting briefly every time a button is pressed.
- The LED flashing when pressing and holding a button indicates that radio telegrams for convenient window opening/closing are sent.
- The LED not lighting despite a button being pressed indicates that the battery in the transmitter is discharged.
- The LED flashing during initialization indicates that the transmitter is sending out its initialization data.

Transmitter self-test (key-chain transmitter with battery only)
The self-test is used to check whether the transmitter electronic control is operating correctly.

The self-test is started by pressing and holding "tailgate" button and "lock" button simultaneously.

If the transmitter is functioning correctly, the red LED will light for 1 second.

Initialization

Function
The initialization procedure allocates the key transmitter to the general module. During initialization, a code is generated in the key transmitter and then transferred to the general module. The code is stored in the key transmitter and in the general module. The general module recognizes the keys belonging to the system on the basis of this code. Only commands from these keys are then carried out.

A maximum of 4 keys can be initialized for each vehicle. The codes of all other keys are deleted when a key is re-initialized. This means that all the keys of a system must be initialized simultaneously.

Initialization procedure
Carry out key transmitter initialization in the vehicle interior.
- Unlock vehicle via central locking and close driver's and passenger's doors.
- Briefly switch on terminal R in vehicle (maximum 5 seconds) and switch off again. => The system is now ready to be initialized.
- Press and hold "unlock" button on the key transmitter.
- Point key transmitter in direction of antenna and, with the "unlock" button pressed, press "lock" button three times within 10 seconds. => A new code is generated in the key.
- Release both buttons. => The general module signals that initialization of the key transmitter was successful by locking and unlocking the central locking system.

Repeat the procedure as of Point 3 (= press and hold "unlock" button on key transmitter) to initialize the other keys. Terminal R must not be varied during this procedure.

The initialization procedure is terminated if terminal R is switched on.

NOTE: A voltage-independent memory in the key-chain transmitter ensures that the initialization data is not deleted even when the battery or rechargeable battery is discharged.