Curiosii for ever!
: Car repair manuals for everyone.
Home
>>
BMW
>>
2006
>>
M3 Convertible (E46) L6-3.2L (S54)
>>
Repair and Diagnosis
>>
Diagrams
>>
Electrical Diagrams
>>
Body
>>
Communication
>>
Voice Input (SES Language-Input System)
>>
Microphone
>>
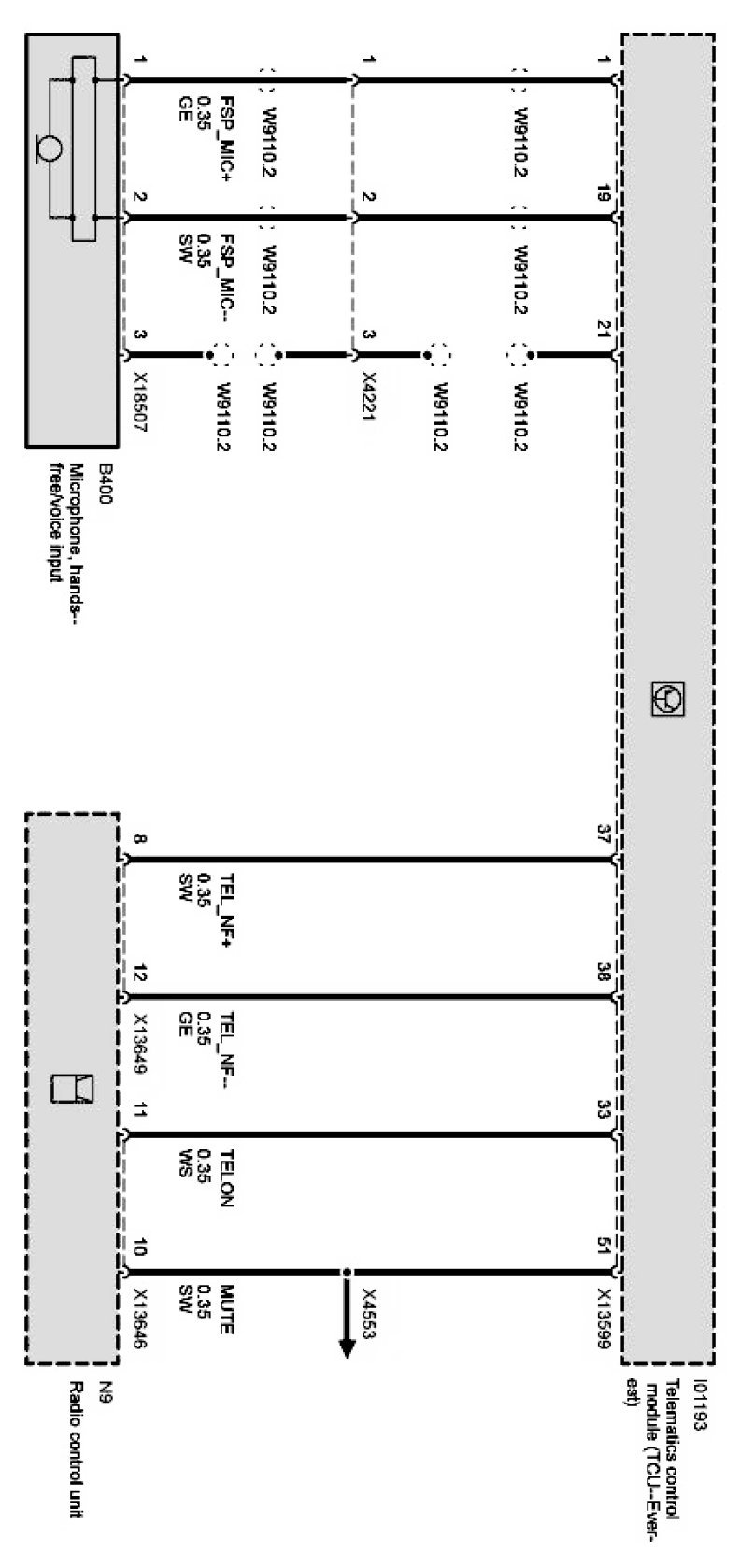
Hands-Free Telephone (TCU Telematic Control Unit Without SES Language-Input System With BM On-board Monitor)
Hands-Free Telephone (TCU Telematic Control Unit Without SES Language-Input System With BM On-board Monitor)
Hands-free telephone: