Curiosii for ever!: Car repair manuals for everyone.

Performance Controls





Performance Controls

Dynamic Driving Control (if equipped)





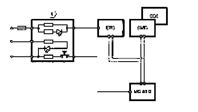
The MS45 ECM contains two different throttle progression functions (Sport and Normal). The Dynamic Driving Control function is selected by pressing the "Sport" button located in the center console (1).





The switch provides a ground signal (input) to the ECM when pressed. The MS45 activates the sport characteristics for the Electronic throttle control (EDK). This provides an increase in throttle opening and response time over the nonsport position.

When this function is activated, the function indicator light in the Sport button is illuminated by the Electric Power Steering (EPS) Control Module. When the ignition is cycled, this function resets back to the nonsport function (it must be reselected by the driver).
The ECM additionally provides the request for the Dynamic Driving Control function over the PT CAN bus to the following control modules:

If Air:

^ Electronic Power Steering (EPS)
^ Instrument cluster (Kombi)
^ Automatic transmission (EGS)
^ SMG 6speed sequential manual gearbox

Note: Refer to the respective sections for the function influence on these systems.

Cruise Control





Cruise control functions are activated directly from the stalk (lever) to the ECM. The individual positions (requests) are digitally encoded and are input to the ECM over a serial data wire. The cruise control operational requirements are BMW "typical".

The (E85) Z4 does not have a System one indicator light
Cruise Control is integrated into the ECM because of the EDK operation.
^ The ECM controls vehicle speed by activation of the Electronic Throttle Valve (EDK).
^ The clutch switch disengages cruise control to prevent over rev during gear changes.

^ The brake light switch and the brake light test switch are input to the ECM to disengage cruise control as well as fault recognition during engine operation of the EDK.

Road speed is input to the ECM for cruise control as well as DSC regulation. The road speed signal for cruise control is supplied by the DSC Control module.

Electric Fan





The electric cooling fan is controlled by the ECM for engine cooling system and air conditioning system requirements. The ECM uses a remote power output final stage (mounted on the fan housing). The electric fan is controlled by a pulse width modulated signal from the ECM.

The fan (and speed) is activated by the ECM based on:

^ Coolant outlet temperature
^ Catalyst temperature (calculated by the ECM)
^ Vehicle speed
^ Battery voltage
^ Air Conditioning refrigerant pressure (calculated by IHKA and sent via the PT CAN bus to the ECM)

ECM Integrated Temperature Sensor





The E Box fan is controlled by the MS45 ECM. The control module contains an integral NTC temperature sensor for the purpose of monitoring the E box temperature and activating the fan.
When the internal temperature exceeds 65°C, the ECM provides a switched ground for the E Box fan to cool the E box control modules.

Alternator Interface
The alternator communicates data with the ECM via the BSD line (bit serial data interface single wire). This is necessary to allow the ECM to adapt its calculations and specific control data to the alternator output. In addition, the ECM controls the following functions:

^ Activation/deactivation of the alternator.
^ Informingg the voltage regulator of the nominal voltage value to be set.
^ Controlling the alternators load response.
^ Diagnosing the BSD line.
^ Storing alternator fault codes.
^ Activating the charging indicator light in the instrument cluster.
The charging indicator light operation has not changed from present vehicles.

EWS III (3.3)
The electronic drive away protection system (EWS 111) remains unchanged from the current E46 BMW models.

PT CAN Bus Communication





The ECM provides signals to other driveling related modules for torque control, shift quality, diagnosis, safety enhancements, etc. This is covered in the appropriate sections.

Dual VANES Control





Performance, torque, idle characteristics and exhaust emissions reduction are improved by Variable Camshaft Timing (VANES). The VANES unit is mounted directly on the front of the cylinder head and adjusts the Intake and Exhaust camshaft timing from retarded to advanced. The ECM controls the operation of the VANES solenoid which regulates the oil pressure required to move the control piston. Engine RPM, load and temperature are used to determine VANES activation.
VANES mechanical operation is dependent on engine oil pressure applied to position the control pistons. When oil pressure is applied to the control pistons (regulated by the solenoids), the pistons move causing the splined adjustment shafts to move. The straight splines slide within the camshaft sleeves. The helical splines rotate the camshaft drive sprockets changing the position in relation to the camshaft position which advances/ retards the intake/exhaust camshaft timing.

The operation of the Vanes solenoid is monitored in accordance with the OBD II requirements for emission control. The ECM monitors the final stage output control and the signal from the Camshaft Position Sensors for VANES operation.

Dual VANES consists of the following parts:





^ Intake and exhaust camshafts with helical gear insert
^ Sprockets with adjustable gears
^ VANES actuators for each camshaft
^ 2 three way solenoid switching valves
^ 2 impulse wheels for detecting camshaft position
^ 2 camshaft position sensors (Hall effect)
When the engine is started, the camshafts are in the fail-safe position (deactivated). The intake camshaft is in the RETARDED position held by oil pressure from the sprung open solenoid. The exhaust camshaft is in the ADVANCED position held by a preload spring in the actuator and oil pressure from the sprung open solenoid.

After 50 RPM (25 seconds) from engine start, the ECM is monitoring the exact camshaft position. The ECM positions the camshafts based on engine RPM and the throttle position signal. From that point the camshaft timing will be varied based on intake air and coolant temperatures.
The dual VANES system is fully variable. When the ECM detects the camshafts are in the optimum positions, the solenoids are modulated (approximately 100220 Hz) maintaining oil pressure on both sides of the actuators to hold the camshaft timing.

CAUTION: The VANES MUST be removed and installed exactly as described in the Repair Instructions!

NOTE: If the VANES camshaft system goes to the fail-safe mode (deactivated) there will be a noticeable loss of power.





DEACTIVATED
EXHAUST: Advanced piston moved in
INTAKE: Retard piston moved out





ACTIVATED
EXHAUST: Advanced piston moved out
INTAKE: Retard piston moved in

ECM Programming FLASH Control Modules
The MS45 ECM is a programmable FLASH Control Module. The ECM contains a soldered in FIASH EPROM which can be programmed/updated up to 13 times. The EPROM has basic information always present in it referred to as resident data. This resident data gives the EPROM its identification and contains instructions for the programming of the operational maps. When you program, you are inputting operational maps to the ECM such as injection timing and ignition timing, etc.
Always refer to the latest programming IDC Bulletin for a complete list of FLASH programmable control modules and the latest program highlights. An unprogrammed control module win not allow the engine to start. DME (ECM) FLASH programming is performed with the DlSplus/GT1 using the latest software.
Using the automatic determination process (preferred method), the GT1 compares the part numbers stored in the FLASH EPROM of the currently installed ECM with a list of possible replacement part numbers stored in the DlSPlus or GT1 memory. The comparison is done to:

^ Display the part number for the replacement programmable control module for that vehicle.

^ Determine if the GT1 can recommend a replacement part number(s) from the list of part numbers stored in memory.
^ Identify a proper replacement program or control module