Curiosii for ever!
: Car repair manuals for everyone.
Home
>>
BMW
>>
2004
>>
Z4 (E85) L6-2.5L (M54)
>>
Repair and Diagnosis
>>
Powertrain Management
>>
Ignition System
>>
Ignition Cable
>>
Service and Repair
Ignition Cable: Service and Repair
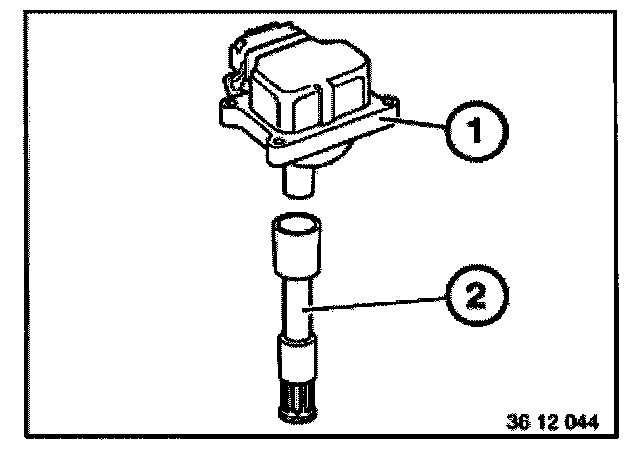
Replacing A Spark Plug Connector (M60, M62, M54)
Switch off ignition.
Remove ignition coils.
Detach ignition coil (1) from spark plug connector (2).