Curiosii for ever!
: Car repair manuals for everyone.
Home
>>
BMW
>>
2004
>>
Z4 (E85) L6-2.5L (M54)
>>
Repair and Diagnosis
>>
Diagrams
>>
Electrical Diagrams
>>
Body
>>
Locking and Security Functions
>>
Antitheft Alarm System
>>
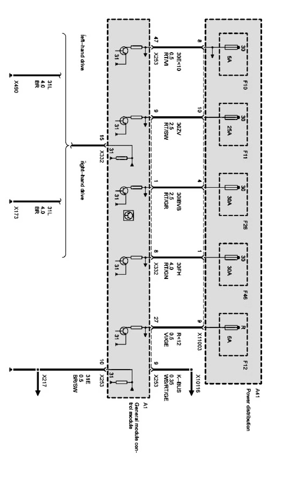
General Module, Supply
General Module, Supply
Power supply: