Curiosii for ever!
: Car repair manuals for everyone.
Home
>>
BMW
>>
2004
>>
Z4 (E85) L6-2.5L (M54)
>>
Repair and Diagnosis
>>
Diagrams
>>
Electrical Diagrams
>>
Body
>>
Audio, Video and Navigation
>>
Navigation With CID (NAV Navigation Computer With CID Central Information Display)
>>
Voice Output
>>
Navigation, Supply
>>
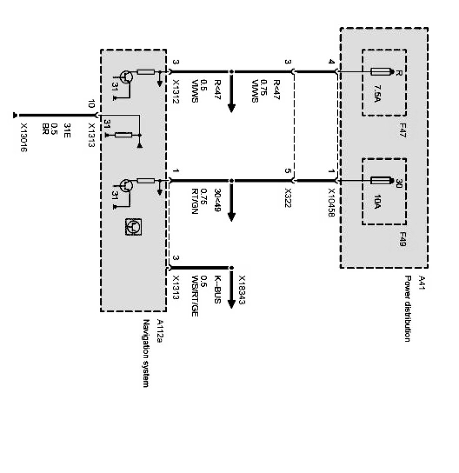
Supply Navigation (Z Series_Z4-E85/E86 With NAV Computer As of 09/04)
Supply Navigation (Z Series_Z4-E85/E86 With NAV Computer As of 09/04)
Supply Navigation: