Curiosii for ever!
: Car repair manuals for everyone.
Home
>>
BMW
>>
2004
>>
X5 (E53) L6-3.0L (M54)
>>
Repair and Diagnosis
>>
Diagrams
>>
Electrical Diagrams
>>
Drive
>>
Engine Management MS43 (DME Digital Motor Electronics MS43 (M54 Engine))
>>
DME Main Relay
>>
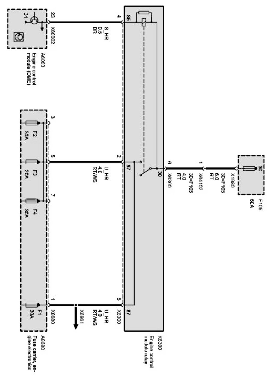
Engine Control Module Relay (Up to 09/03)
Engine Control Module Relay (Up to 09/03)
E53 Engine control module relay Part 1 Of 1: