Curiosii for ever!
: Car repair manuals for everyone.
Home
>>
BMW
>>
2004
>>
X5 (E53) L6-3.0L (M54)
>>
Repair and Diagnosis
>>
Diagrams
>>
Electrical Diagrams
>>
Body
>>
Communication
>>
Voice Input (SES Language-Input System)
>>
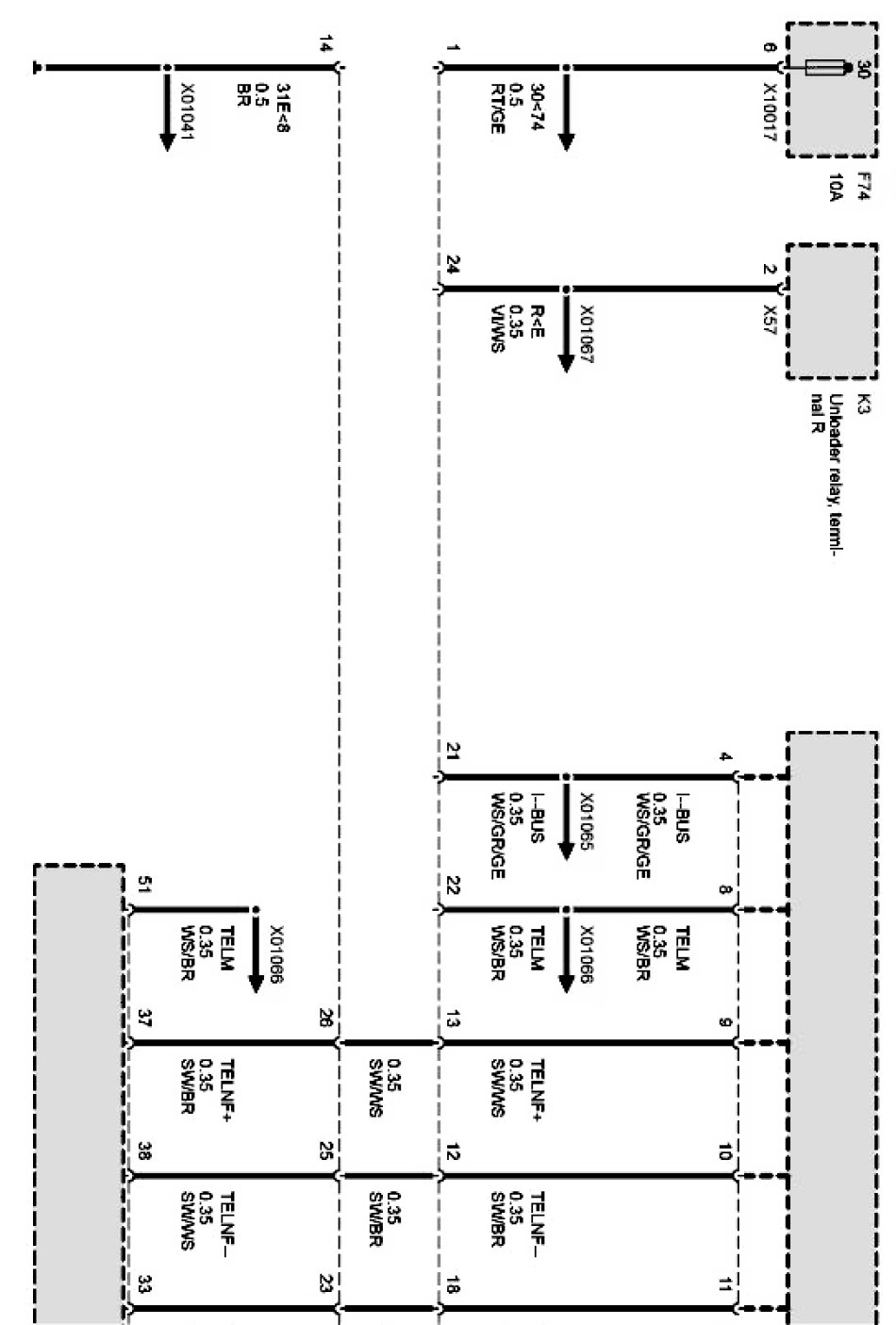
Voice Input Control Preparation W/ Shorting Jumper (TCU Telematic Control Unit)
Voice Input Control Preparation W/ Shorting Jumper (TCU Telematic Control Unit)
E53 Voice input control preparation With shorting jumper Part 1 Of 2:
E53 Voice input control preparation With shorting jumper Part 2 Of 2: